Компоненты верхней передачи — [1B517434 THRU 2B144122] - USA — купить в Victory Marine
Компоненты верхней передачи
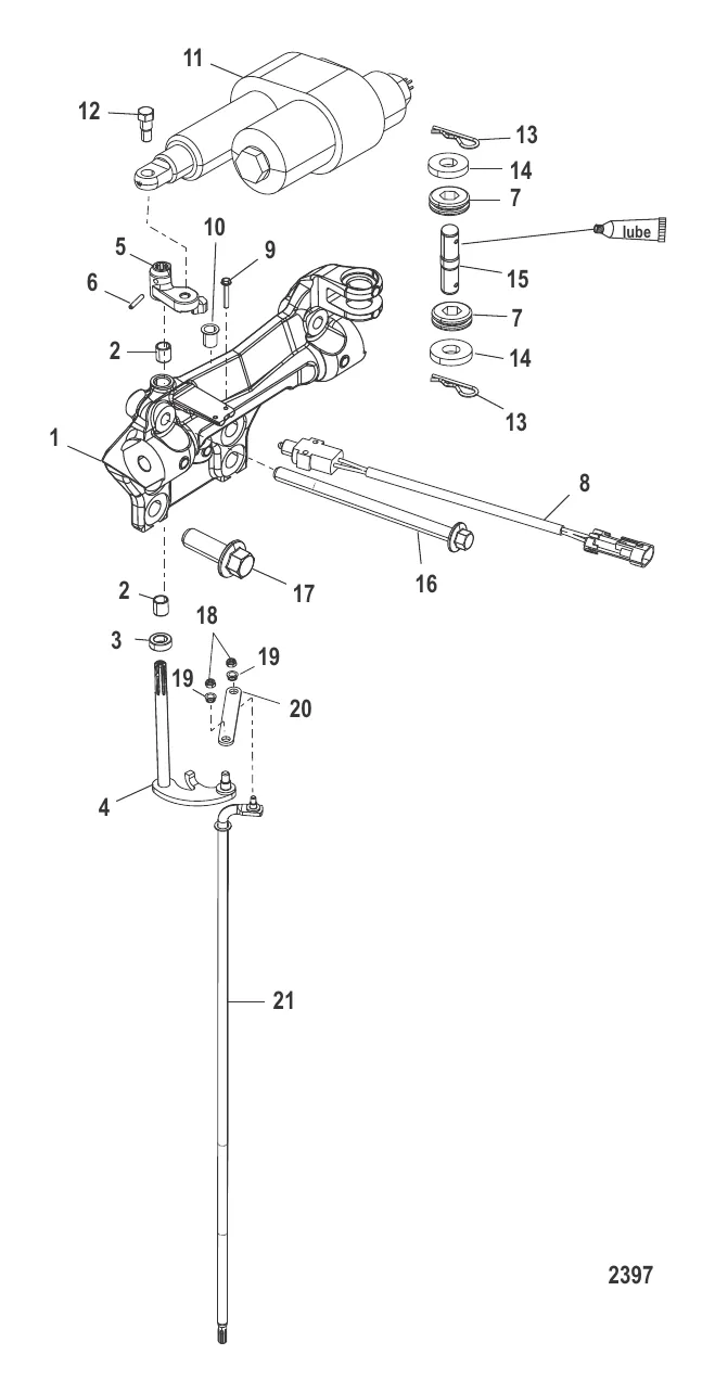
1
2
3
4
5
6
7
8
9
10
11
12
13
14
15
16
17
18
19
20

Компоненты верхней передачи

Уточняйте

739 ₽

183 ₽

6 787 ₽

6 422 ₽

647 ₽

583 ₽

5 010 ₽

208 ₽

417 ₽

350 164 ₽

1 775 ₽

257 ₽

678 ₽

2 684 ₽

1 032 ₽

17 . винт Mercury 8M0103802

88510940 → 8M0103802

1 430 ₽

147 ₽

421 ₽

826 ₽

Полезные статьи

Все статьи →
Гайды и подбор

Якорь для лодки ПВХ — какой выбрать по весу, типу и дну водоёма

Разбираем типы якорей для надувных лодок: грибовидный, Дэнфорта, складной, кошка. Как рассчитать вес, какой трос использовать и как правильно якориться на разном дне — от ила до камней.

1 мин.
Гайды и подбор

Человек за бортом — алгоритм действий и манёвр спасения

Пошаговый алгоритм спасения человека за бортом: немедленные действия, манёвры Вильямсона и Шарнова, подход к пострадавшему, борьба с гипотермией. Теория и практические советы для каждого судоводителя.

1 мин.
Гайды и подбор

Какой катер выбрать для рыбалки — типы, размеры и комплектация

Выбор катера для рыбалки — задача, которая зависит от водоёма, целевой рыбы и бюджета. Разбираем типы корпусов, оптимальные размеры, мощность мотора и обязательное оснащение рыболовного катера.

1 мин.
Связаться с нами