Компоненты усилителя дифферента — [0G590000 THRU 0G760299] - USA — купить в Victory Marine
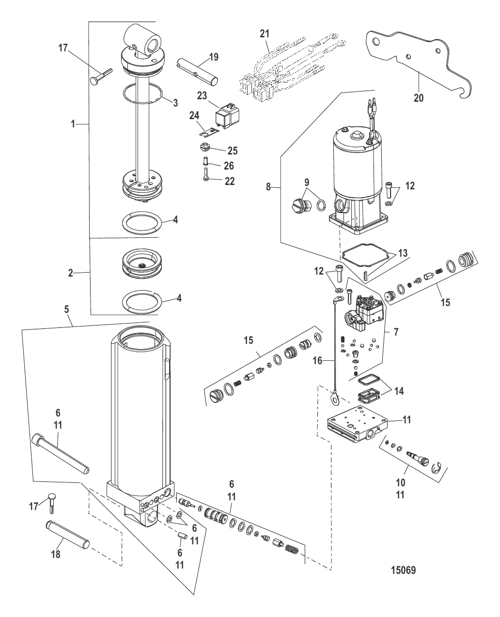
Компоненты усилителя дифферента
2
3
4
5
6
7
8
9
11
12
14
16
17
18
19
20
21
22
24
25
26

Компоненты усилителя дифферента

101 496 ₽

2 . MEMORY PISTON KIT 8M0171822

810776A1 → 8M0171822

8 796 ₽

3 323 ₽

Уточняйте

52 949 ₽

16 133 ₽

73 951 ₽

109 575 ₽

6 627 ₽

8 637 ₽

40 191 ₽

3 782 ₽

6 361 ₽

4 298 ₽

20 608 ₽

971 ₽

755 ₽

3 607 ₽

19 . ШТИФТ Mercury 822869001

822869 → 822869001

4 657 ₽

Уточняйте

13 313 ₽

383 ₽

3 600 ₽

575 ₽

392 ₽

140 ₽

Полезные статьи

Все статьи →
Связаться с нами