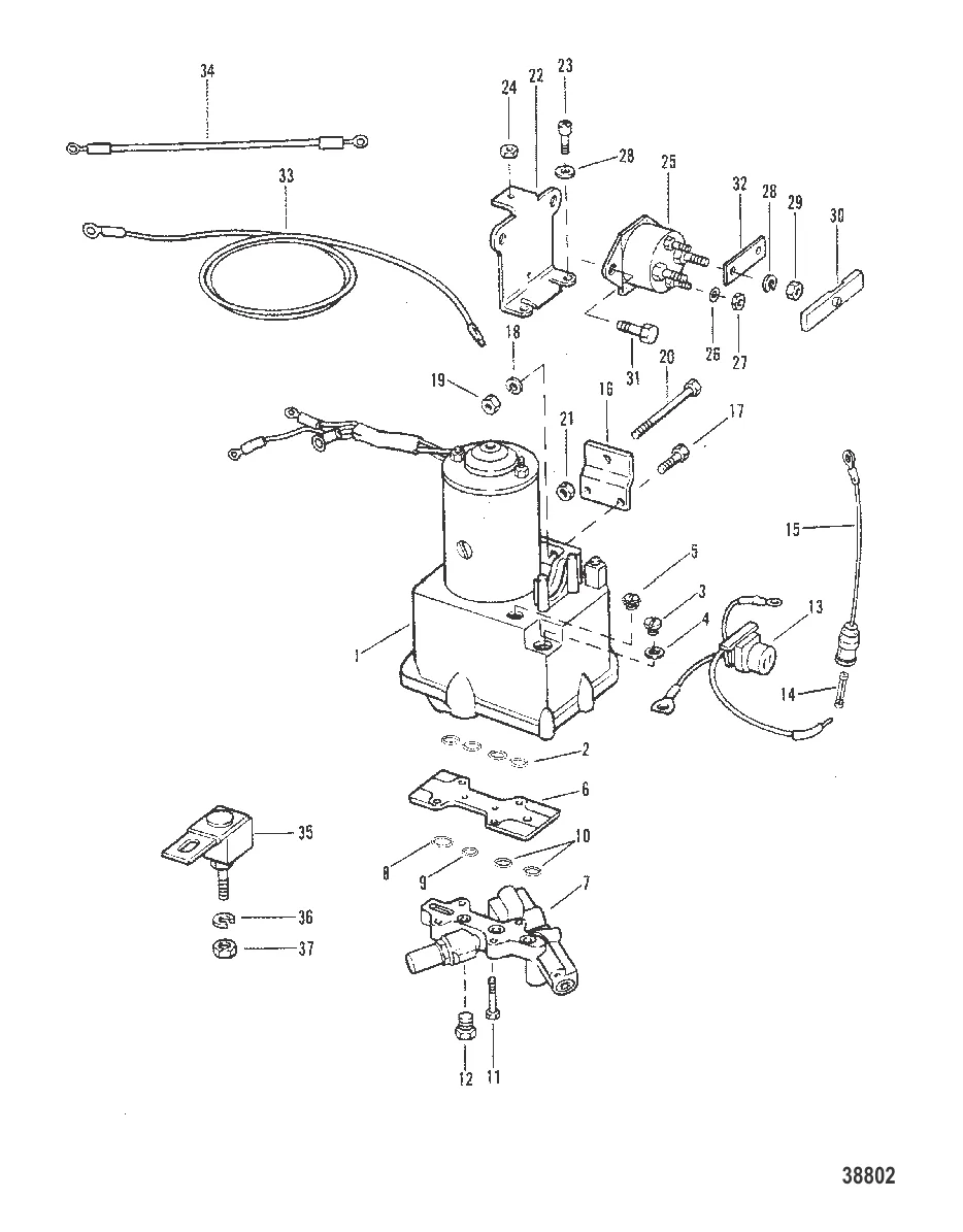
КОМПОНЕНТЫ УСИЛИТЕЛЯ ДИФФЕРЕНТА — [209608 & Up] - Canada - Cat.# 90-43116 — купить в Victory Marine
КОМПОНЕНТЫ УСИЛИТЕЛЯ ДИФФЕРЕНТА
1
5
6
8
10
11
12
15
16
17
18
20
21
22
23
27
29
30
32
34
35
36
37

КОМПОНЕНТЫ УСИЛИТЕЛЯ ДИФФЕРЕНТА

1 . насос KIT-TRIM Mercury 92975A32

92975A28 → 67914A2 → 92975A32

207 069 ₽

3 . 79953Q04 Болт сливной с Прокладкой без магнита (QUICKSILVER)

79953Q2 → 79953A2 → 79953 → 28634 → 20259 → 79953Q04

900 ₽

250 ₽

Уточняйте

Уточняйте

Уточняйте

226 ₽

Уточняйте

171 ₽

315 ₽

737 ₽

16 916 ₽

344 ₽

742 ₽

Уточняйте

116 ₽

216 ₽

300 ₽

Уточняйте

356 ₽

Уточняйте

140 ₽

332 ₽

4 500 ₽

136 ₽

225 ₽

109 ₽

201 ₽

1 261 ₽

470 ₽

1 220 ₽

4 464 ₽

4 919 ₽

222 ₽

7 232 ₽

221 ₽

224 ₽

Полезные статьи

Все статьи →
Связаться с нами