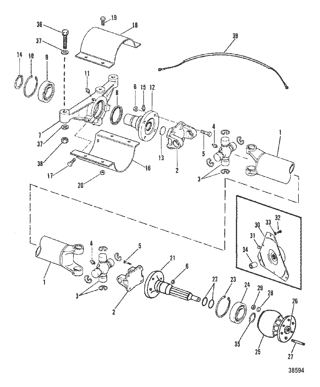
КОМПОНЕНТЫ УДЛИНИТЕЛЯ ВЕДУЩЕГО ВАЛА (МОДЕЛИ С ПРОМЕЖУТОЧНЫМ ВАЛОМ) — 1987 [0B525982 THRU 0B773739] — купить в Victory Marine
КОМПОНЕНТЫ УДЛИНИТЕЛЯ ВЕДУЩЕГО ВАЛА (МОДЕЛИ С ПРОМЕЖУТОЧНЫМ ВАЛОМ)
1
2
5
7
8
10
12
13
14
15
16
17
18
19
21
22
23
25
26
27
28
29
30
31
32
33
34
35
36
37
38
39

КОМПОНЕНТЫ УДЛИНИТЕЛЯ ВЕДУЩЕГО ВАЛА (МОДЕЛИ С ПРОМЕЖУТОЧНЫМ ВАЛОМ)

67 799 ₽

25 156 ₽

31 334 ₽

5 . ВИНТ (0.437-20 x 1.500) Mercury 805159

52498 → F2326 → 817419 → 805159

627 ₽

900 ₽

214 862 ₽

4 014 ₽

22 123 ₽

12 785 ₽

261 725 ₽

5 890 ₽

7 941 ₽

Уточняйте

38 955 ₽

152 ₽

39 654 ₽

171 ₽

636 ₽

21 . ВАЛ Mercury 93906A2

93906A1 → 93906A2

157 004 ₽

235 ₽

1 339 ₽

22 914 ₽

Уточняйте

Уточняйте

27 . Шпилька 98532A1

32808 → 98532A1

1 976 ₽

208 ₽

29 . Гайка 8M2008293

98533 → 79857 → 8M2008293

157 ₽

44 999 ₽

469 ₽

153 ₽

809 ₽

10 693 ₽

35 . КОЛЬЦО Стопор Mercury 841897T

94103T → 94103 → 841897T

2 499 ₽

698 ₽

2 465 ₽

398 ₽

8 132 ₽

Полезные статьи

Все статьи →
Связаться с нами