КОМПОНЕНТЫ УДЛИНИТЕЛЯ ВЕДУЩЕГО ВАЛА (МОДЕЛИ С ПРОМЕЖУТОЧНЫМ ВАЛОМ) — 1987 [0B525982 THRU 0B774444] - Cat.# 90-816596 — купить в Victory Marine
КОМПОНЕНТЫ УДЛИНИТЕЛЯ ВЕДУЩЕГО ВАЛА (МОДЕЛИ С ПРОМЕЖУТОЧНЫМ ВАЛОМ)
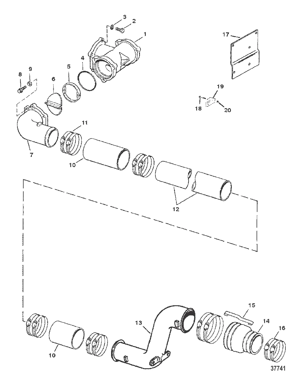
1
2
3
5
6
8
9
10
12
14
15
16
17
18
19
20

КОМПОНЕНТЫ УДЛИНИТЕЛЯ ВЕДУЩЕГО ВАЛА (МОДЕЛИ С ПРОМЕЖУТОЧНЫМ ВАЛОМ)

Уточняйте

248 ₽

3 . Шайба 35048

37459 → 27969 → 35048

171 ₽

317 ₽

3 382 ₽

Уточняйте

25 197 ₽

8 . винт @5 Mercury 8M0113174

58640 → 8M0113174

1 053 ₽

258 ₽

10 . РУКАВ Mercury 486594

486591 → 486594

6 480 ₽

297 ₽

Уточняйте

Уточняйте

118 328 ₽

11 211 ₽

9 365 ₽

Уточняйте

16 . Хомут 815504372

31765 → 815504372

1 821 ₽

7 800 ₽

152 ₽

19 . ГАЙКА (№10-32) Mercury 46438

20565 → 37806 → 20652 → 46438

684 ₽

323 ₽

Полезные статьи

Все статьи →
Связаться с нами