Компоненты удлинителя — [0G590000 THRU 0G760299] - USA — купить в Victory Marine
Компоненты удлинителя
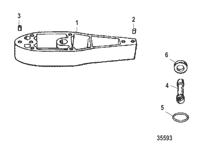
1
3
4
5
6

Компоненты удлинителя

106 204 ₽

Уточняйте

99 121 ₽

1 . ORD 816696T 5 Mercury 816696T6

816696F6 → 816696T6

43 186 ₽

306 ₽

382 ₽

10 427 ₽

5 . Кольцо 21836

20679 → 21836

136 ₽

3 038 ₽

Полезные статьи

Все статьи →
Сравнения и обзоры

Электрический лодочный мотор как основной двигатель — когда это имеет смысл

Не путаем с троллинговыми моторчиками — речь про полноценные электрические двигатели для лодок. Torqeedo, ePropulsion и другие: мощность, батареи, запас хода, стоимость владения.

1 мин.
Гайды и подбор

Первый катер — как выбрать моторную лодку новичку: 10 критериев

Покупка первого катера — серьёзный шаг с десятком подводных камней. Разбираем 10 ключевых критериев выбора моторной лодки для новичка: от назначения и размера до бюджета и документов.

1 мин.
Обслуживание и ремонт

Мотор глохнет на холостых оборотах — пошаговая диагностика

Лодочный мотор заводится, но глохнет на холостых? Разбираем пошаговый алгоритм диагностики: от топливной системы и зажигания до регулировки холостого хода и типичных болезней моторов Mercury.

1 мин.
Связаться с нами