Компоненты топливной системы (Коммерческие двигатели) — [0T980000 THRU 0T999999] - USA — купить в Victory Marine
Компоненты топливной системы (Коммерческие двигатели)
3
4
7
8
11
13
14
15
16
17
19
21

Компоненты топливной системы (Коммерческие двигатели)

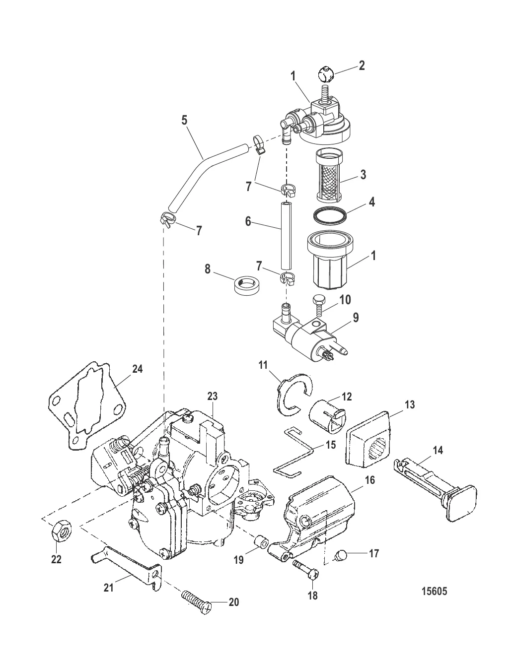
1 . КОМПЛЕКТ ФИЛЬТРА Mercury 889527A07

8M0111436 → 87946A15 → 87946A13 → 87946A2 → 889527A07

4 248 ₽

328 ₽

2 913 ₽

Уточняйте

727 ₽

8 732 ₽

45 ₽

921 ₽

5 565 ₽

10 . ВИНТ (M6 x 25) Mercury 4000330

16166 → 879194250 → 823042039 → 4000330

Уточняйте

647 ₽

2 156 ₽

1 616 ₽

3 718 ₽

2 016 ₽

4 544 ₽

260 ₽

258 ₽

19 . INSERT Mercury 41750T

41750 → 41750T

269 ₽

321 ₽

Уточняйте

269 ₽

23 . КАРБЮРАТОР (WMC-86) Mercury 823907T13

823907T6 → 823907A6 → 823907A3 → 823907T13

Уточняйте

23 . КАРБЮРАТОР (WMC-88) Mercury 817405T20

817405T12 → 817405A12 → 817405A10 → 817405T20

55 999 ₽

356 ₽

Полезные статьи

Все статьи →
Связаться с нами