Популярные города
Товаров не найдено, но мы можем привезти под заказ
Нет аккаунта?
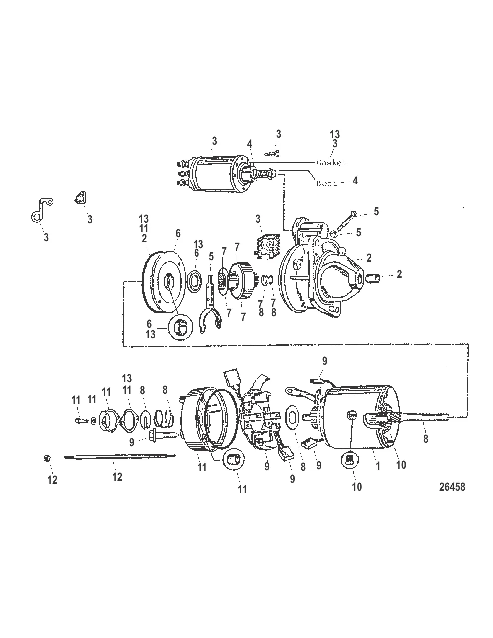
СТАРТЕР В СБОРЕ Mercury 808011A05
808011A4 → 808011A05
ЭЛЕКТРОМАГНИТ Mercury 850408
850408
НЕ ПРОДАЕТСЯ ОТДЕЛЬНО Mercury NSS
NSS
63 054 ₽
18 375 ₽
Уточняйте
Джиговая ловля с лодки — один из самых результативных способов поймать судака, щуку и окуня. Разбираем снасти, приманки, технику проводки и позиционирование лодки для успешного джига.
Цвет дыма из выхлопа лодочного мотора — первый диагностический сигнал о проблеме. Разбираем, что означает белый, синий и чёрный дым, чем отличается норма от неисправности, и как ведут себя двух- и четырёхтактные моторы.
Обзор раций для лодки и рыбалки: морские VHF, PMR, CB — частоты, дальность, нужно ли разрешение в России. Популярные модели, водозащита и практические советы.
Контакты
+7 800 555-65-49
Бесплатно по России — нажмите, чтобы позвонить
Написать нам
Перезвоните мне
Оставьте номер — наш эксперт перезвонит и подберёт нужные запчасти
Нажимая кнопку, вы соглашаетесь на обработку персональных данных
Наш эксперт свяжется с вами в ближайшее время
Скидка будет применена к вашему заказу