Компоненты промежуточного вала — [88020001 THRU 88020166] — купить в Victory Marine
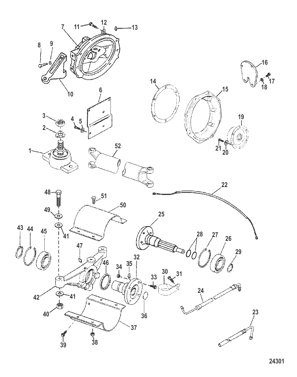
Компоненты промежуточного вала
2
3
5
6
10
11
12
14
15
17
18
20
21
23
24
25
27
29
30
31
32
34
36
37
38
40
41
42
43
44
46
47
48
49
50
51
52

Компоненты промежуточного вала

18 000 ₽

566 ₽

295 ₽

1 030 ₽

7 800 ₽

28 877 ₽

328 ₽

171 ₽

Уточняйте

60 221 ₽

15 034 ₽

678 ₽

245 ₽

150 689 ₽

68 ₽

185 ₽

9 503 ₽

28 210 ₽

60 899 ₽

25 . ВАЛ Mercury 93906A2

93906A1 → 93906A2

157 004 ₽

22 914 ₽

1 339 ₽

140 ₽

29 . КОЛЬЦО Стопор Mercury 841897T

94103T → 94103 → 841897T

2 499 ₽

938 ₽

260 ₽

183 489 ₽

33 . ВИНТ (0.437-20 x 1.500) Mercury 805159

52498 → F2326 → 817419 → 805159

627 ₽

260 ₽

5 890 ₽

38 955 ₽

38 . ГАЙКА (.375-16) Mercury 32219

28517 → 33249 → 32219

290 ₽

728 ₽

2 465 ₽

214 862 ₽

7 941 ₽

12 785 ₽

22 123 ₽

4 014 ₽

Уточняйте

698 ₽

269 ₽

39 654 ₽

171 ₽

67 799 ₽

219 562 ₽

276 167 ₽

Полезные статьи

Все статьи →
Связаться с нами