Компоненты на впуске (Нагнетательный клапан) — [0M956534 THRU 0M962885] - USA — купить в Victory Marine
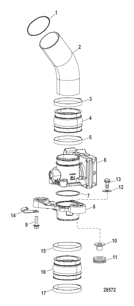
Компоненты на впуске (Нагнетательный клапан)
1
2
7
10
11
12
14
15
16
17

Компоненты на впуске (Нагнетательный клапан)

1 . Кольцо 33145

32424 → 33145

322 ₽

2 . TUBE Mercury 8M0050957

843516001 → 8M0050957

16 016 ₽

115 000 ₽

258 ₽

1 548 ₽

340 ₽

426 ₽

583 ₽

260 ₽

1 102 ₽

1 159 ₽

666 ₽

12 029 ₽

663 ₽

Полезные статьи

Все статьи →
Связаться с нами