Компоненты корпуса водометного привода — [0E379931 THRU 0E406399] - USA — купить в Victory Marine
Компоненты корпуса водометного привода
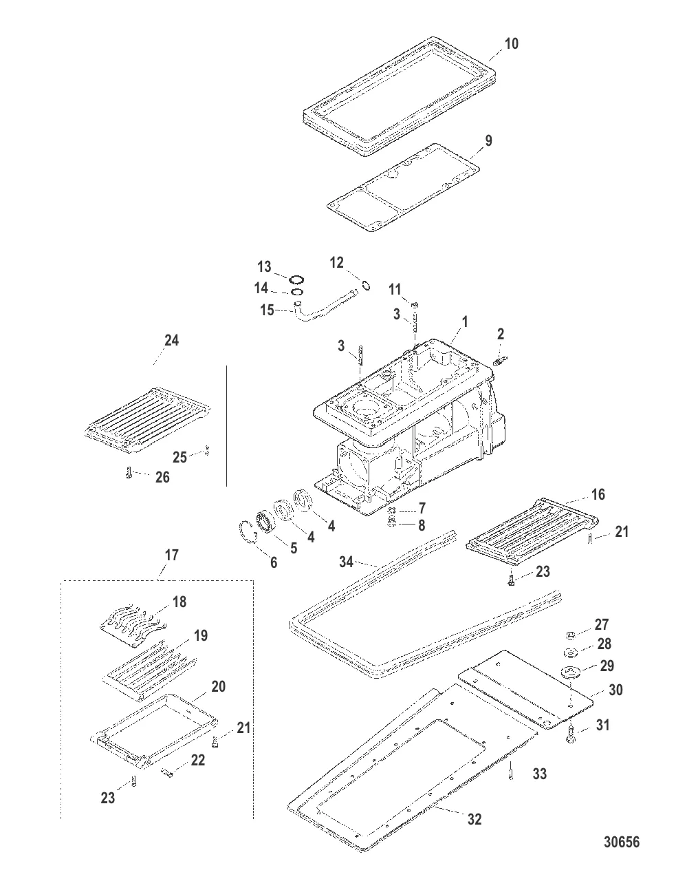
2
3
5
6
9
13
15
16
18
19
20
22
26
27
28
29
30
31
33
34

Компоненты корпуса водометного привода

502 912 ₽

1 114 781 ₽

2 . ФИТИНГ (.125-27) Mercury 63186

57307 → 33074 → 63186

775 ₽

1 033 ₽

2 900 ₽

5 810 ₽

1 084 ₽

7 . 79953Q04 Болт сливной с Прокладкой без магнита (QUICKSILVER)

79953Q2 → 79953A2 → 79953 → 28634 → 20259 → 79953Q04

900 ₽

250 ₽

7 120 ₽

13 426 ₽

238 ₽

13 . Кольцо 21836

20679 → 21836

136 ₽

262 ₽

7 530 ₽

16 . ЭКРАН Mercury 852962T

852962 → 852962T

45 871 ₽

93 039 ₽

26 615 ₽

19 . ЗУБЦЫ Mercury 885588T

856629T → 885588T

55 769 ₽

53 433 ₽

1 202 ₽

54 105 ₽

599 ₽

369 ₽

1 522 ₽

670 ₽

30 . ПЛАСТИНА Mercury 853905T

853905 → 833097 → 853905T

20 358 ₽

505 ₽

96 941 ₽

324 ₽

12 817 ₽

Полезные статьи

Все статьи →
Связаться с нами