Компоненты для ручного наклона — [0T980000 & Up] - USA — купить в Victory Marine
Компоненты для ручного наклона
1
4
9
10
12
13
14

Компоненты для ручного наклона

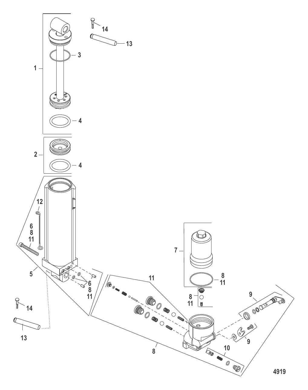
1 . SHOCK ROD KIT Mercury 8M0118572

893941A01 → 8M0118572

Уточняйте

1 . SHOCK ROD KIT Mercury 893942A01

813427A5 → 893942A01

Уточняйте

2 . КОМПЛЕКТ ПОРШНЯ Mercury 893903A01

813430A1 → 813430 → 893903A01

Уточняйте

5 257 ₽

Уточняйте

108 938 ₽

6 089 ₽

58 201 ₽

107 941 ₽

49 067 ₽

3 843 ₽

36 368 ₽

12 . Провод 88238A13

8M0007781 → 88238A13

Уточняйте

3 607 ₽

755 ₽

Полезные статьи

Все статьи →
Связаться с нами