Компоненты цилиндра рулевого механизма — Привод M8 — купить в Victory Marine
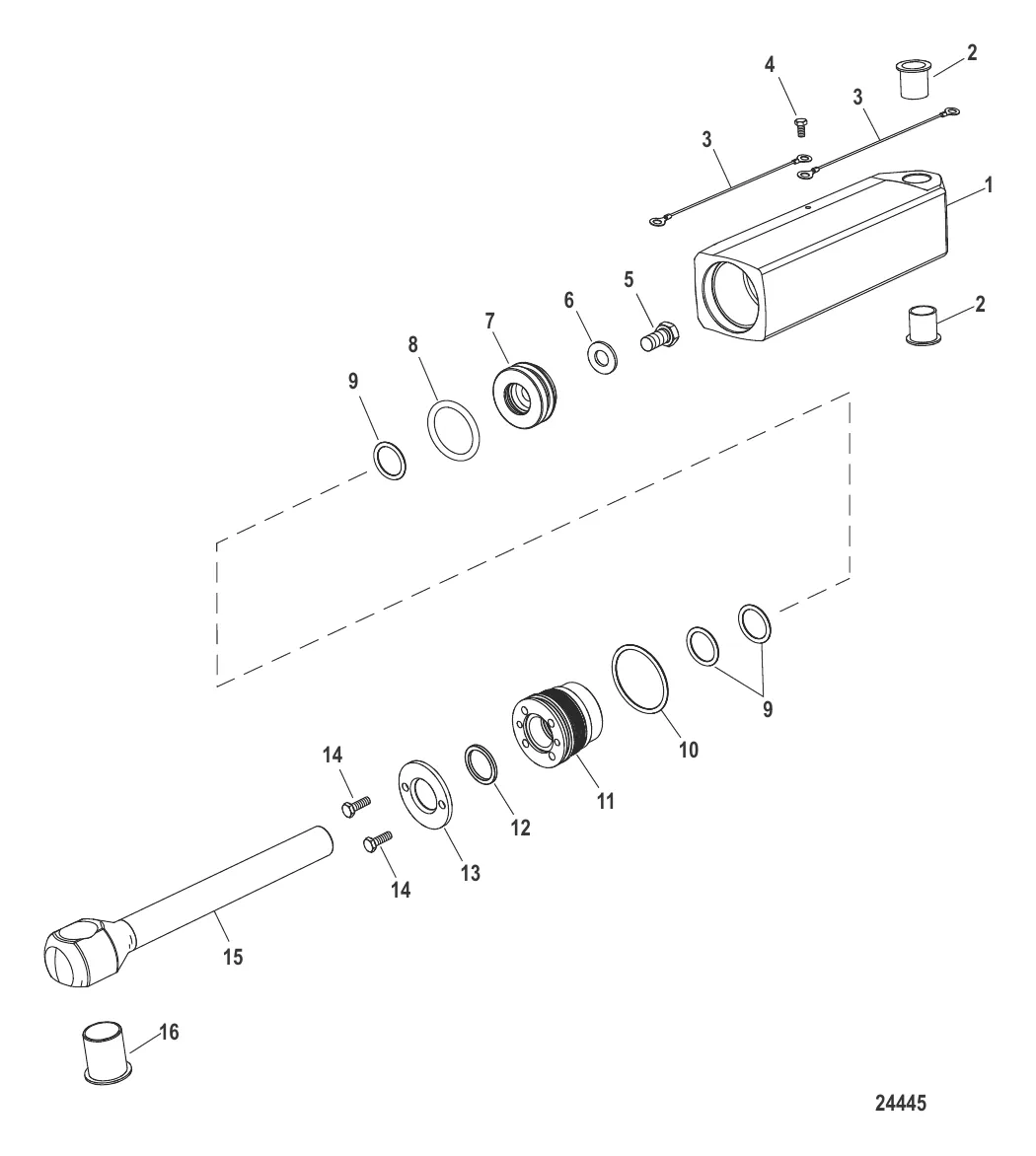
Компоненты цилиндра рулевого механизма
2
3
5
6
7
8
11
12
13
15
16

Компоненты цилиндра рулевого механизма

177 363 ₽

1 . ORD 8M0073272 Mercury 8M0070039

841983A01 → 8M0070039

111 072 ₽

1 . ORD 8M0073354 Mercury 8M0070040

841983A02 → 8M0070040

111 073 ₽

177 365 ₽

7 319 ₽

3 . Провод 88238A13

8M0007781 → 88238A13

Уточняйте

183 ₽

145 ₽

71 ₽

6 890 ₽

115 ₽

192 ₽

2 112 ₽

526 ₽

Уточняйте

8 639 ₽

734 ₽

269 ₽

89 553 ₽

14 059 ₽

Полезные статьи

Все статьи →
Связаться с нами