9
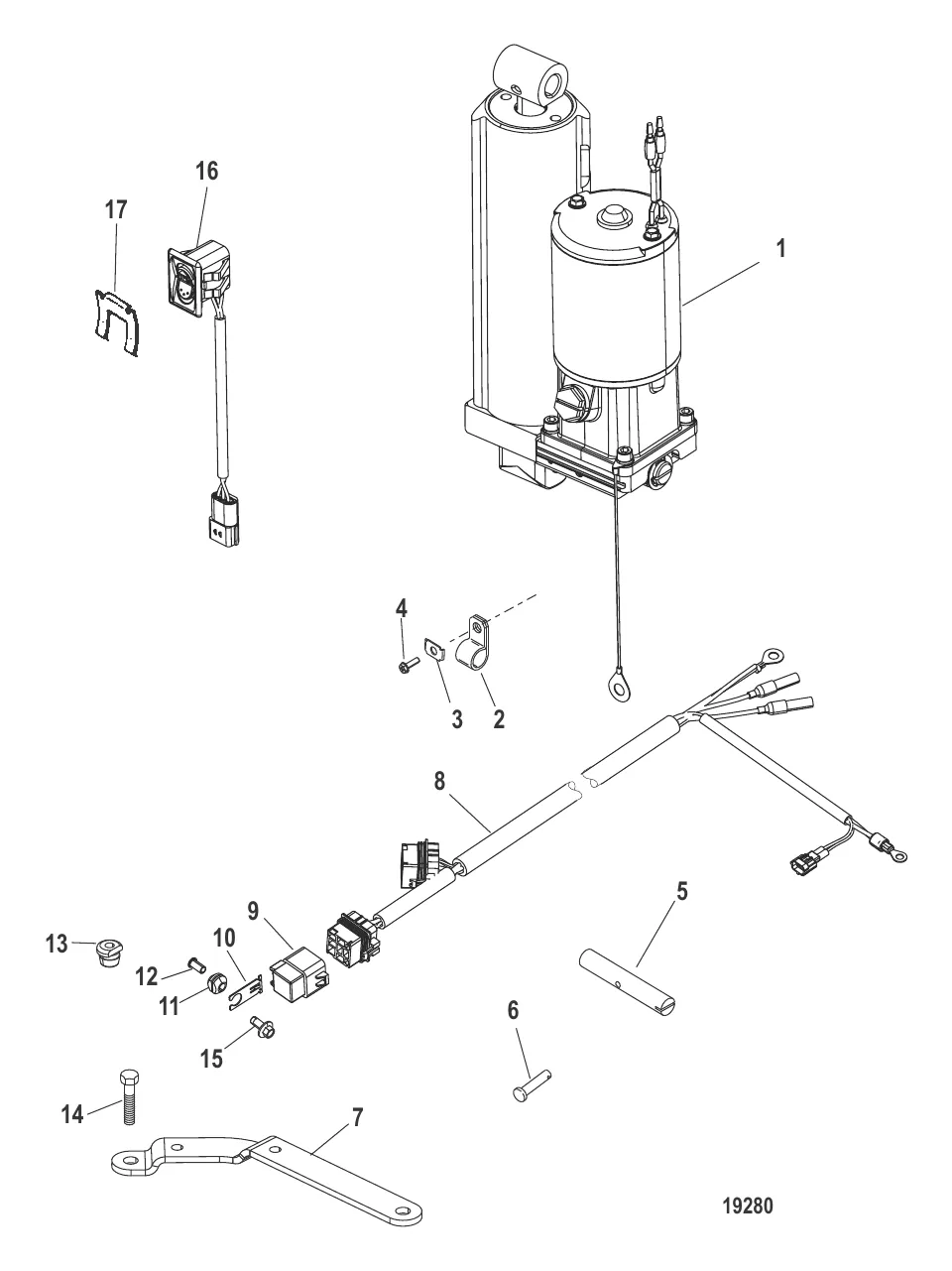
Комплект усилителя дифферента 8M0055003
249 287 ₽
574 ₽
152 ₽
226 ₽
4 657 ₽
755 ₽
3 025 ₽
29 850 ₽
9
9 . 882751A1 Реле трима (Power Trim Relay) Mercury / MerCruiser 8M0207773
828151A1 → 828151 → 882751A1
3 600 ₽
575 ₽
392 ₽
140 ₽
4 706 ₽
194 ₽
383 ₽
19 004 ₽
1 557 ₽