Комплект удлинителя ведущего вала Стандартный 2.07:1 — [2B095049 & Up] — купить в Victory Marine
Комплект удлинителя ведущего вала Стандартный 2.07:1
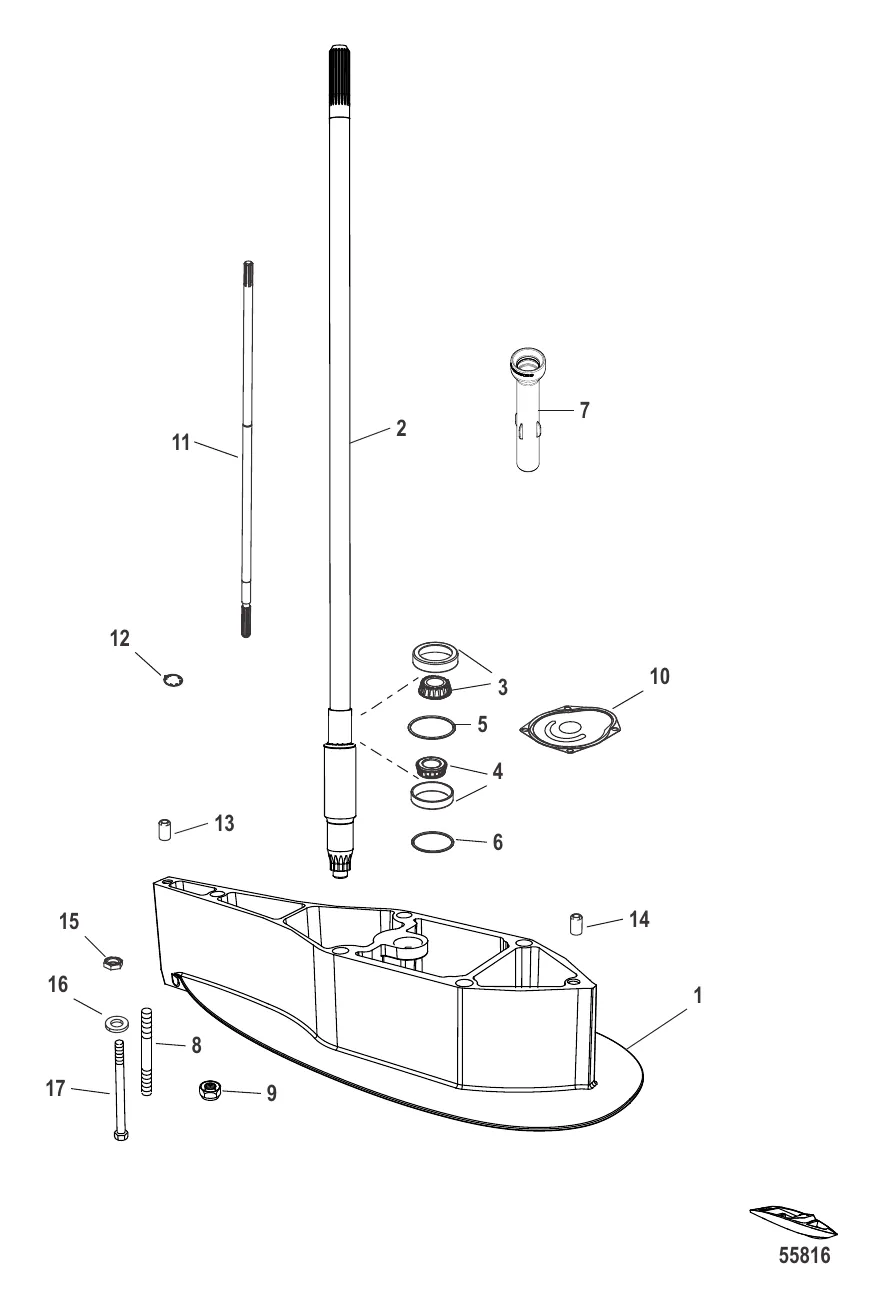
3
5
6
7
8
9
10
12
14
15
17

Комплект удлинителя ведущего вала Стандартный 2.07:1

1 . ПРОСТАВКА Корпус ведущего вала XL Mercury 8M0105088

8M0071622 → 880647T04 → 823979T1 → 823979F1 → 8M0105088

57 410 ₽

110 493 ₽

9 000 ₽

7 300 ₽

3 986 ₽

4 422 ₽

741 ₽

6 053 ₽

300 ₽

2 524 ₽

Уточняйте

306 ₽

382 ₽

867 ₽

310 ₽

2 357 ₽

Полезные статьи

Все статьи →
Гайды и подбор

Рыбалка в Карелии с лодки — ТОП водоёмов, виды рыб, советы

Карелия — рай для рыбака с лодкой: тысячи озёр, чистейшая вода и трофейная рыба. Разбираем лучшие водоёмы, видовой состав, выбор мотора и всё, что нужно знать перед поездкой.

1 мин.
Сравнения и обзоры

НДНД, аирдек или пайол — какое дно лодки ПВХ лучше: сравнение

Разбираем три типа дна лодок ПВХ — НДНД, аирдек и жёсткий пайол. Сравниваем по жёсткости, весу, комфорту и цене, чтобы вы выбрали идеальный вариант для рыбалки, охоты или отдыха.

1 мин.
Обслуживание и ремонт

Электросхема лодочного мотора Mercury: популярные модели

Подробный разбор электросхем лодочных моторов Mercury — от простых 9.9/15 двухтактных до мощных 150-200 четырёхтактных. Цветовая маркировка проводов, система зажигания, зарядки и запуска. Диагностика мультиметром, типичные неисправности и когда пора к электрику.

3 мин.
Связаться с нами