Комплект удлинителя ведущего вала Стандартный 2.07:1 — [2B095049 & Up] — купить в Victory Marine
Комплект удлинителя ведущего вала Стандартный 2.07:1
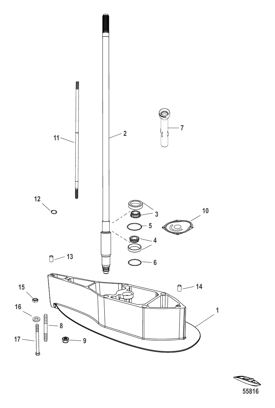
2
3
5
6
7
8
9
10
12
14
15
17

Комплект удлинителя ведущего вала Стандартный 2.07:1

1 . ПРОСТАВКА Корпус ведущего вала XL Mercury 8M0105088

8M0071622 → 880647T04 → 823979T1 → 823979F1 → 8M0105088

57 410 ₽

110 493 ₽

9 000 ₽

7 300 ₽

3 986 ₽

4 422 ₽

741 ₽

6 053 ₽

300 ₽

2 524 ₽

12 265 ₽

Уточняйте

306 ₽

382 ₽

867 ₽

310 ₽

2 357 ₽

Полезные статьи

Все статьи →
Обслуживание и ремонт

Частые поломки лодочных моторов Mercury: диагностика и ремонт

Разбираем самые частые неисправности моторов Mercury — от банальных свечей до серьёзных проблем с редуктором и ЭБУ. Пошаговая диагностика, таблица кодов ошибок EFI и советы по профилактике из 15-летнего опыта сервиса.

1 мин.
Обслуживание и ремонт

Ремонт лодки ПВХ своими руками — как заклеить прокол, порез и шов

Подробная инструкция по ремонту лодки ПВХ: выбор клея, заплатки, горячий и холодный метод склейки. Разбираем типичные повреждения и рассказываем, когда можно починить самому, а когда лучше к мастеру.

1 мин.
Гайды и подбор

Рыбалка на воблер — типы, проводка и как выбрать по сезону

Полный гайд по воблерам: минноу, крэнк, шэд, поппер, уокер, раттлин. Какие проводки работают, как выбрать воблер по сезону и по рыбе.

1 мин.
Связаться с нами