Комплект удлинителя ведущего вала Command Thrust 2.38:1 — [2B095049 & Up] — купить в Victory Marine
Комплект удлинителя ведущего вала Command Thrust 2.38:1
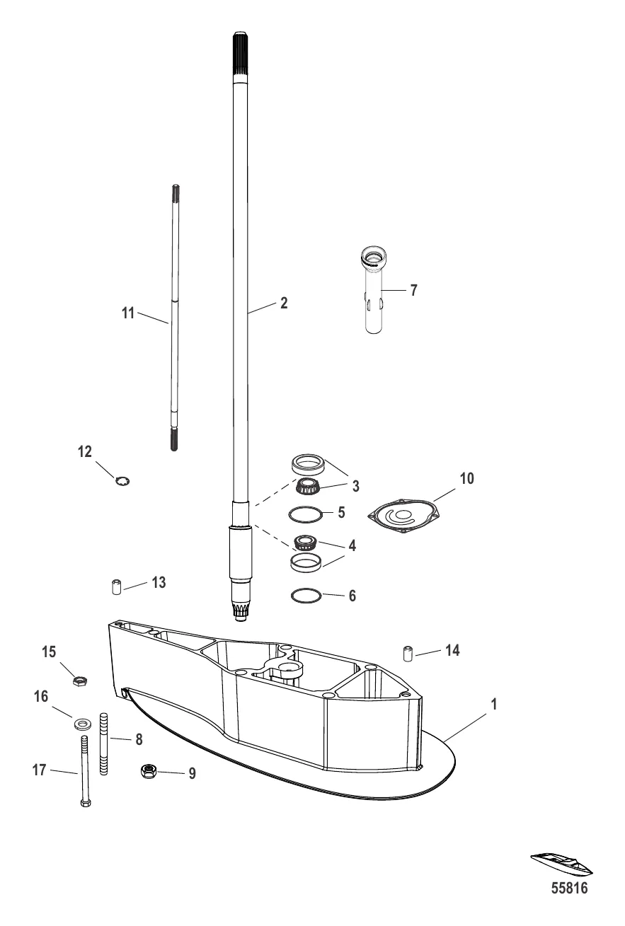
2
3
5
6
7
8
9
10
11
12
14
15
17

Комплект удлинителя ведущего вала Command Thrust 2.38:1

1 . ПРОСТАВКА Корпус ведущего вала XL Mercury 8M0105088

8M0071622 → 880647T04 → 823979T1 → 823979F1 → 8M0105088

57 410 ₽

131 016 ₽

9 000 ₽

7 300 ₽

3 986 ₽

4 422 ₽

741 ₽

6 053 ₽

4 461 ₽

2 524 ₽

11 . SHIFT вал-XL Mercury 8M0140439

8M0031504 → 8M0140439

18 732 ₽

Уточняйте

306 ₽

382 ₽

867 ₽

310 ₽

2 357 ₽

Полезные статьи

Все статьи →
Сравнения и обзоры

Двухтактный или четырёхтактный лодочный мотор — что лучше выбрать

Разбираемся, когда двухтактник реально лучше четырёхтактника, а когда — наоборот. Без маркетинговой воды, с конкретными цифрами по расходу, весу и обслуживанию.

1 мин.
Гайды и подбор

Лодка перевернулась — порядок действий и как этого избежать

Переворот лодки — экстренная ситуация, но не приговор, если знаешь что делать. Разбираем пошаговый алгоритм действий, способы подачи сигнала и главное — как не допустить опрокидывания.

1 мин.
Обслуживание и ремонт

Мотор глохнет на холостых оборотах — пошаговая диагностика

Лодочный мотор заводится, но глохнет на холостых? Разбираем пошаговый алгоритм диагностики: от топливной системы и зажигания до регулировки холостого хода и типичных болезней моторов Mercury.

1 мин.
Связаться с нами