Комплект масляного бака (19743A 5) — [1994 & Up] — купить в Victory Marine
Комплект масляного бака (19743A 5)
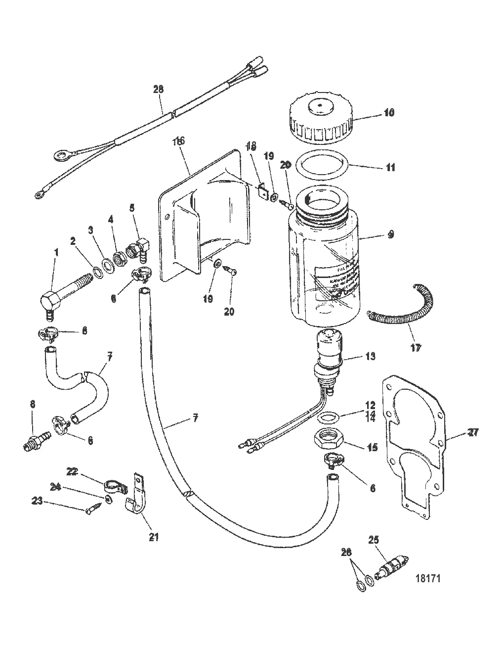
1
4
5
6
8
10
11
14
15
16
17
18
19
21
22
23
24
26
28

Комплект масляного бака (19743A 5)

3 964 ₽

205 ₽

300 ₽

4 . NUT Nylon 8M0143423

35053 → 8M0143423

1 431 ₽

1 290 ₽

346 ₽

7 . 8M0214996 Шланг бочка подпитки (кусок)

8M0062600 → 1940971 → 1940964 → 8M0040618

1 800 ₽

8 . Коннектор 16739

8M2001022 → 16739

1 013 ₽

4 328 ₽

784 ₽

13 . LUBE BOTTLE KIT Mercury 806193A48

806193A38 → 806193A20 → 19742A1 → 806193A48

22 696 ₽

139 ₽

Уточняйте

15 796 ₽

3 819 ₽

676 ₽

291 ₽

332 ₽

765 ₽

126 ₽

152 ₽

562 967 ₽

Уточняйте

27 . 94996Q2 Прокладка транцевой сборки Mercruiser Alpha Bravo.

94996A2 → 64818A3 → 64818A2 → 94996A1 → 94996 → 94996Q2

2 400 ₽

1 294 ₽

Полезные статьи

Все статьи →
Связаться с нами