Компактный привод рулевого механизма с гидроусилителем — [0W250000 & Up] — купить в Victory Marine
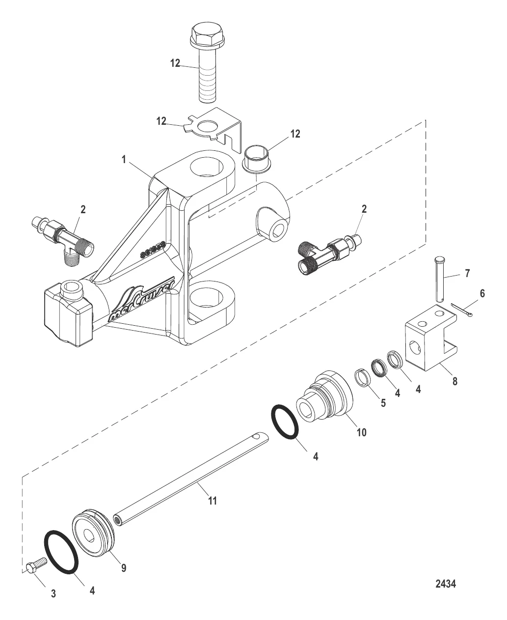
Компактный привод рулевого механизма с гидроусилителем
1
2
3
6
7
8
11
12

Компактный привод рулевого механизма с гидроусилителем

259 039 ₽

27 246 ₽

651 ₽

16 249 ₽

376 ₽

2 313 ₽

16 980 ₽

Уточняйте

50 985 ₽

Полезные статьи

Все статьи →
Связаться с нами