Компактный привод рулевого механизма с гидроусилителем — [0M100001 THRU 0W249999] — купить в Victory Marine
Компактный привод рулевого механизма с гидроусилителем
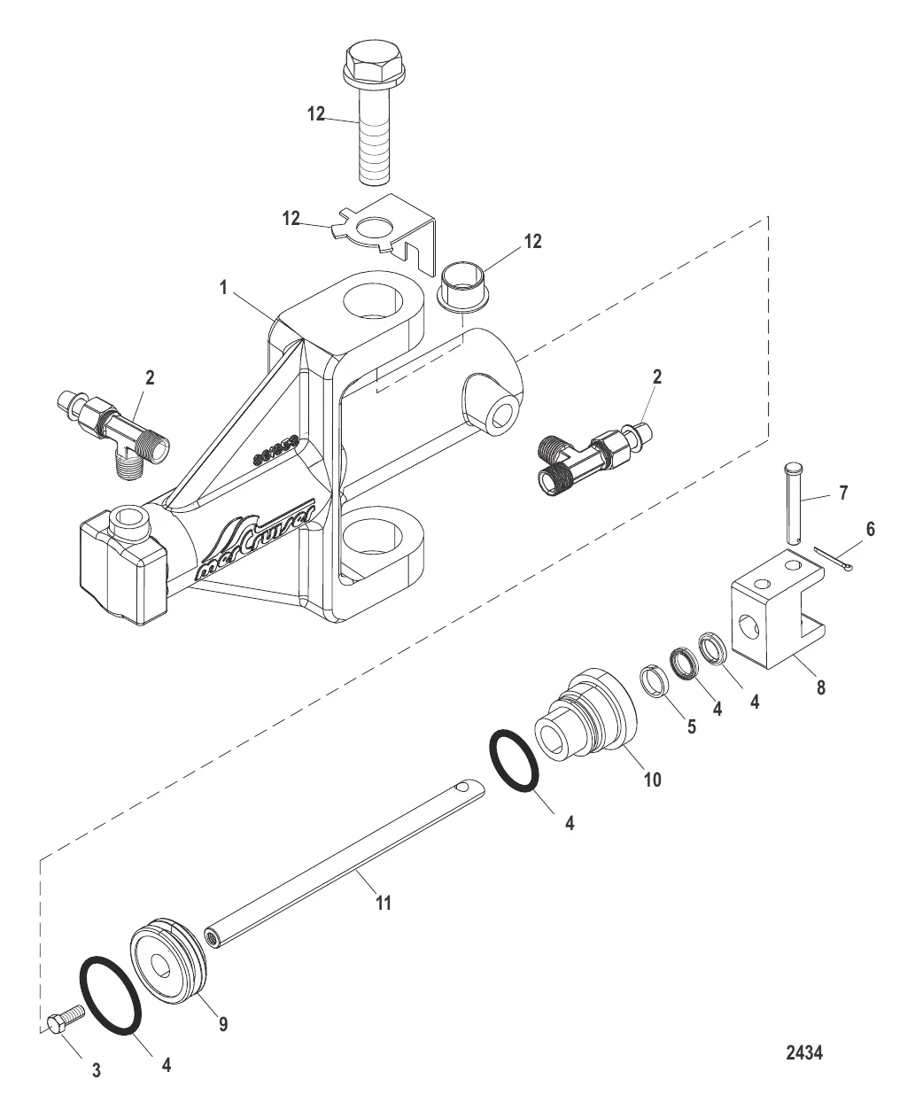
1
2
3
6
7
8
11
12

Компактный привод рулевого механизма с гидроусилителем

259 039 ₽

27 246 ₽

651 ₽

16 249 ₽

376 ₽

2 313 ₽

16 980 ₽

Уточняйте

50 985 ₽

Полезные статьи

Все статьи →
Гайды и подбор

Ловля щуки на кружки с лодки — оснастка, живец, тактика

Подробный гайд по ловле щуки на кружки: устройство снасти, оснастка, выбор и насадка живца, тактика расстановки и управления. Традиционная русская техника, которая работает безотказно.

1 мин.
Гайды и подбор

Электрический насос для лодки ПВХ — какой выбрать и не пожалеть

Разбираемся в типах электрических насосов для лодок ПВХ: низкого и высокого давления, двухступенчатые модели. Сравниваем Bravo, Scoprega, Intex. Подскажем, какой насос подойдёт для вашей лодки.

1 мин.
Гайды и подбор

Как увеличить скорость лодки ПВХ — 10 проверенных способов без замены мотора

Разбираем 10 реальных способов добавить скорости ПВХ-лодке без покупки нового мотора: правильный винт, развесовка, давление в баллонах, гидрокрыло, высота установки и другое.

1 мин.
Связаться с нами