Коленчатый вал, поршни и маховик — 15 SEAPRO — купить в Victory Marine
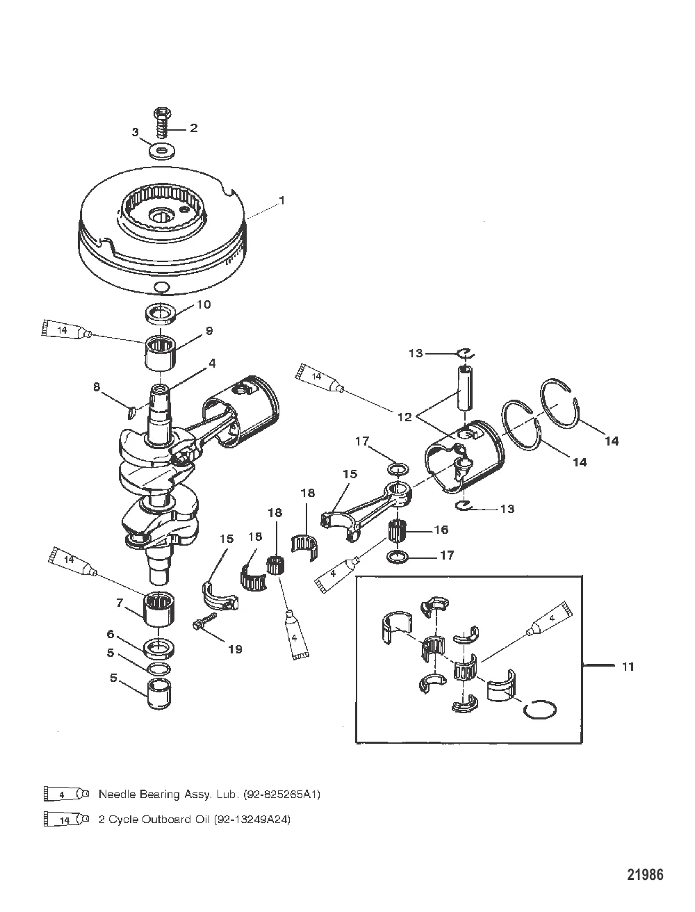
Коленчатый вал, поршни и маховик
2
3
4
6
8
10
16
17

Коленчатый вал, поршни и маховик

1 . Маховик ASSY Mercury 859232T15

859232T6 → 818354A2 → 8274A6 → 8274A3 → 7908A2 → 859232T15

109 859 ₽

Уточняйте

490 ₽

4 . CRANKFHAFT ASSY Mercury 823105T1

823105A1 → 823105T1

Уточняйте

Уточняйте

2 582 ₽

4 464 ₽

8 . Шпонка 20094

75829 → 20094

258 ₽

4 971 ₽

10 . Сальник 859741

85974 → 859741

2 145 ₽

11 334 ₽

12 . ПОРШЕНЬ В СБОРЕ Mercury 9104T19

9104A19 → 9104A18 → 9104A17 → 9104A11 → 9104A9 → 9104T19

Уточняйте

12 . ПОРШЕНЬ В СБОРЕ Mercury 879878T5

855283T3 → 855283T2 → 821968A3 → 879878T5

23 423 ₽

422 ₽

40 416 ₽

Уточняйте

48 ₽

604 ₽

5 983 ₽

798 ₽

Полезные статьи

Все статьи →
Обслуживание и ремонт

Лодочный мотор в солёной воде — как защитить от коррозии и продлить ресурс

Солёная вода — главный враг подвесного мотора. Рассказываем, как правильно промывать двигатель после моря, когда менять аноды, чем обрабатывать редуктор и что делать, чтобы мотор прожил долго.

1 мин.
Обслуживание и ремонт

Ремонт лодки ПВХ своими руками — как заклеить прокол, порез и шов

Подробная инструкция по ремонту лодки ПВХ: выбор клея, заплатки, горячий и холодный метод склейки. Разбираем типичные повреждения и рассказываем, когда можно починить самому, а когда лучше к мастеру.

1 мин.
Гайды и подбор

Расход топлива лодочных моторов Mercury и Tohatsu — полная таблица

Таблицы расхода топлива моторов Mercury, Tohatsu и MerCruiser при разных оборотах. Что влияет на расход, какой бензин заливать, как рассчитать запас на поездку и снизить потребление горючего.

1 мин.
Связаться с нами