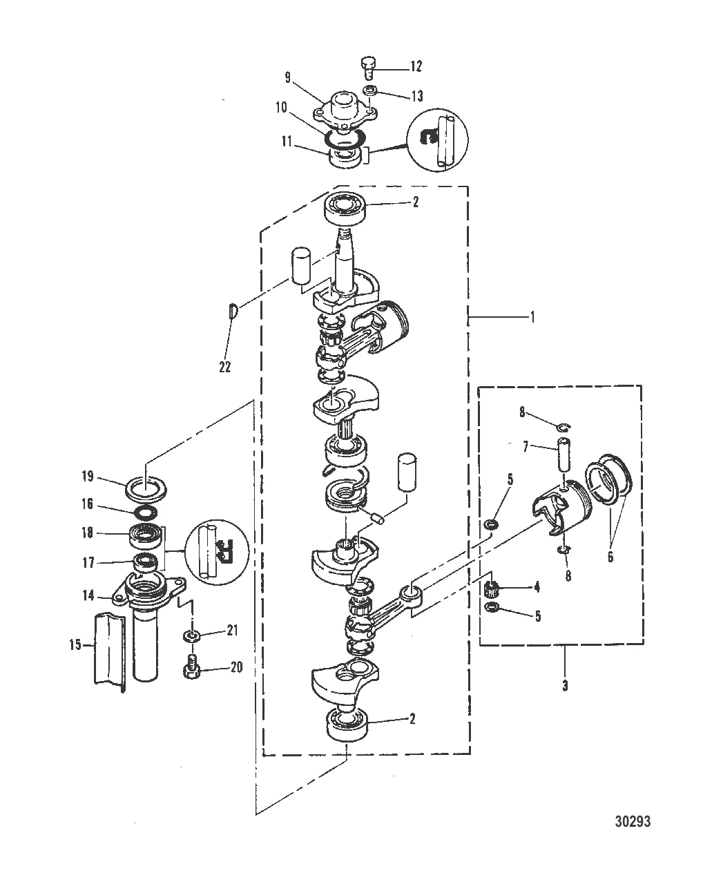
КОЛЕНЧАТЫЙ ВАЛ И ПОРШЕНЬ — [677-702821 & Up] — купить в Victory Marine
КОЛЕНЧАТЫЙ ВАЛ И ПОРШЕНЬ
1
2
3
4
5
6
7
8
9
10
11
12
14
15
16
17
18
19
20
21
22

КОЛЕНЧАТЫЙ ВАЛ И ПОРШЕНЬ

Уточняйте

3 685 ₽

10 064 ₽

10 061 ₽

11 680 ₽

108 ₽

Уточняйте

1 876 ₽

2 013 ₽

1 976 ₽

358 ₽

94 ₽

Уточняйте

385 ₽

1 434 ₽

12 . БОЛТ Mercury 82423M

82451M → 82423M

Уточняйте

Уточняйте

2 778 ₽

634 ₽

1 788 ₽

1 741 ₽

Уточняйте

20 . БОЛТ Mercury 826957M

91725M → 83395M → 826957M

Уточняйте

21 . ШАЙБА Mercury 82214M

82199M → 82214M

22 ₽

22 . КЛЮЧ Mercury 893761

18856M → 893761

1 070 ₽

Полезные статьи

Все статьи →
Связаться с нами