Картер редуктора (Ведущий вал)(Передаточное число 1.83:1) — [0P401000 THRU 0P515896] - Belgium — купить в Victory Marine
Картер редуктора (Ведущий вал)(Передаточное число 1.83:1)
5
7
8
12
14
15
16
18
19
21
25
26
28
29
33
34

Картер редуктора (Ведущий вал)(Передаточное число 1.83:1)

179 487 ₽

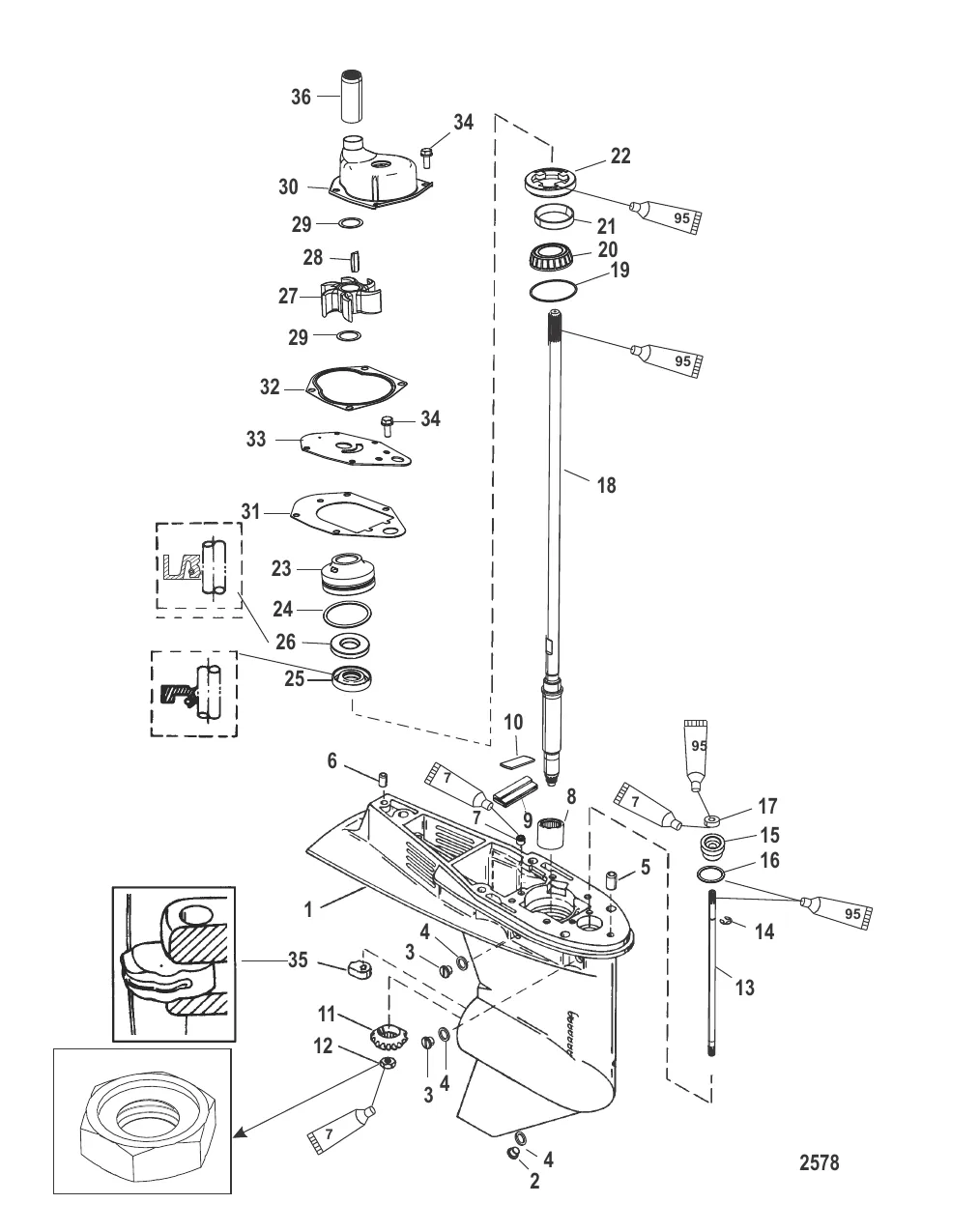
3 . 79953Q04 Болт сливной с Прокладкой без магнита (QUICKSILVER)

79953Q2 → 79953A2 → 79953 → 28634 → 20259 → 79953Q04

900 ₽

382 ₽

306 ₽

1 976 ₽

4 249 ₽

741 ₽

743 ₽

13 883 ₽

14 . Кольцо 29641

20233 → 29641

198 ₽

6 500 ₽

407 ₽

2 100 ₽

71 178 ₽

3 054 ₽

7 300 ₽

Уточняйте

6 000 ₽

6 600 ₽

225 ₽

2 800 ₽

3 200 ₽

6 500 ₽

545 ₽

29 . Шайба 8M0005777

858234 → 8M0005777

140 ₽

24 600 ₽

Уточняйте

33 . Плата 19700A2

19700A1 → 197001 → 19700 → 19700A2

2 055 ₽

34 . Болт 8248324

82304213 → 804368 → 8248324

194 ₽

35 . Переключатель реверса 760394

76039 → 36288 → 30147 → 20860 → 760394

6 002 ₽

4 000 ₽

Полезные статьи

Все статьи →
Связаться с нами