КАРТЕР РЕДУКТОРА (ВЕДУЩИЙ ВАЛ) – ПРОТИВОВРАЩЕНИЕ — [0D082000 THRU 0G303045] - USA — купить в Victory Marine
КАРТЕР РЕДУКТОРА (ВЕДУЩИЙ ВАЛ) – ПРОТИВОВРАЩЕНИЕ
1
4
6
7
9
12
13
14
15
18
19
20
23
24
25
27
28
29
30
31
33
34
35
37
39
42
44

КАРТЕР РЕДУКТОРА (ВЕДУЩИЙ ВАЛ) – ПРОТИВОВРАЩЕНИЕ

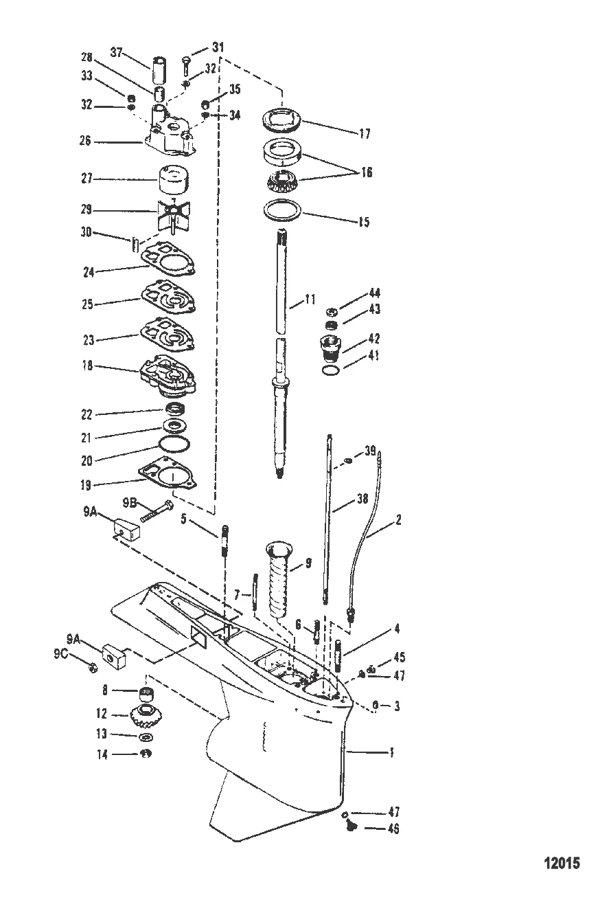
1 . GEAR HSG-BASIC-BL Mercury 9148T47

9148A47 → 9148A11 → 9148T47

292 468 ₽

3 331 ₽

306 ₽

3 371 ₽

Уточняйте

2 421 ₽

1 355 ₽

8 900 ₽

Уточняйте

439 ₽

442 ₽

111 830 ₽

Уточняйте

13 . ШАЙБА Mercury 92721

F694186 → 92721

171 ₽

14 . Гайка 35921

47411 → 35921

909 ₽

814 ₽

6 500 ₽

18 . BASE ASSY-W/P Mercury 8M0077147

42579A3 → 8M0077147

7 200 ₽

356 ₽

20 . Кольцо 8M0142854

896523 → 8M0142854

55 ₽

2 900 ₽

2 500 ₽

451 ₽

403 ₽

661 ₽

26 . Корпус помпы 96148T1

96148A1 → 64141A1 → 48743A1 → 96148T1

8 647 ₽

1 199 ₽

508 ₽

29 . Крыльчатка 89984T3

803631T → F694065 → 89984T3

5 501 ₽

30 . КЛЮЧ Mercury 8M0032834

56654 → 8M0032834

323 ₽

201 ₽

113 ₽

266 ₽

144 ₽

342 ₽

968 ₽

15 284 ₽

39 . Кольцо 29641

20233 → 29641

198 ₽

235 ₽

3 970 ₽

2 100 ₽

140 ₽

45 . 79953Q04 Болт сливной с Прокладкой без магнита (QUICKSILVER)

79953Q2 → 79953A2 → 79953 → 28634 → 20259 → 79953Q04

900 ₽

46 . 8M0058389 Болт с магнитом сливной (QUICKSILVER)

67892A06 → 67892A05 → 67892A1 → 67892 → 14834A1 → 14834 → 8M0058389

1 700 ₽

Полезные статьи

Все статьи →
Гайды и подбор

Аккумулятор для электромотора Minn Kota: какой выбрать и как подключить

Разбираем типы тяговых АКБ для электромоторов Minn Kota: AGM, GEL, LiFePO4. Как подобрать ёмкость, схемы подключения 12V/24V/36V, правильная зарядка и хранение зимой.

2 мин.
Сравнения и обзоры

Водомёт или винт — что лучше для лодочного мотора и когда что выбирать

Разбираемся, чем водомётная насадка отличается от винта, когда водомёт реально спасает, а когда только жрёт лишний бензин. Сравниваем скорость, расход, обслуживание и цены.

1 мин.
Гайды и подбор

Солнечная батарея для лодки — зарядка аккумулятора на воде без берега

Разбираемся, какую солнечную панель поставить на лодку, чтобы аккумулятор не сдох посреди водохранилища. Гибкие, жёсткие, складные — считаем ватты, выбираем контроллер и собираем автономную систему.

1 мин.
Связаться с нами