Картер редуктора Ведущий вал — передаточное число 1,83:1 — [0P153500 THRU 0P400999] - Belgium — купить в Victory Marine
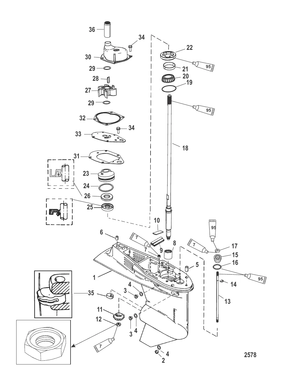
Картер редуктора Ведущий вал — передаточное число 1,83:1
5
7
8
12
14
15
16
18
19
21
25
26
28
29
33
34

Картер редуктора Ведущий вал — передаточное число 1,83:1

179 487 ₽

3 . 79953Q04 Болт сливной с Прокладкой без магнита (QUICKSILVER)

79953Q2 → 79953A2 → 79953 → 28634 → 20259 → 79953Q04

900 ₽

250 ₽

382 ₽

306 ₽

1 976 ₽

4 249 ₽

741 ₽

743 ₽

13 883 ₽

14 . Кольцо 29641

20233 → 29641

198 ₽

6 500 ₽

407 ₽

2 100 ₽

71 178 ₽

3 054 ₽

7 300 ₽

Уточняйте

6 000 ₽

6 600 ₽

225 ₽

2 800 ₽

3 200 ₽

6 500 ₽

545 ₽

29 . Шайба 8M0005777

858234 → 8M0005777

140 ₽

24 600 ₽

Уточняйте

33 . Плата 19700A2

19700A1 → 197001 → 19700 → 19700A2

2 055 ₽

34 . Болт 8248324

82304213 → 804368 → 8248324

194 ₽

35 . Переключатель реверса 760394

76039 → 36288 → 30147 → 20860 → 760394

6 002 ₽

4 000 ₽

Полезные статьи

Все статьи →
Обслуживание и ремонт

Перегрев лодочного мотора — 7 причин и что делать прямо на воде

Перегрев — одна из самых опасных ситуаций для подвесного мотора. Разбираем 7 основных причин перегрева и даём пошаговую инструкцию, что делать, если температура полезла вверх прямо посреди водоёма.

1 мин.
Сравнения и обзоры

НДНД, аирдек или пайол — какое дно лодки ПВХ лучше: сравнение

Разбираем три типа дна лодок ПВХ — НДНД, аирдек и жёсткий пайол. Сравниваем по жёсткости, весу, комфорту и цене, чтобы вы выбрали идеальный вариант для рыбалки, охоты или отдыха.

1 мин.
Обслуживание и ремонт

Замена масла в поворотно-откидной колонке MerCruiser — инструкция

Пошаговая инструкция по замене масла в поворотно-откидной колонке MerCruiser Alpha One и Bravo. Разбираем сроки замены, выбор масла, инструменты, процедуру и проверку на водяную контаминацию.

1 мин.
Связаться с нами