Картер редуктора (Ведущий вал) — [0A904646 THRU 0C100860] - USA - Cat.# 90-13752 — купить в Victory Marine
Картер редуктора (Ведущий вал)
1
4
5
6
7
9
11
12
13
14
15
18
19
20
21
23
24
25
26
27
28
30
31
33
34
35
36
37
38
39
40
41
42
44

Картер редуктора (Ведущий вал)

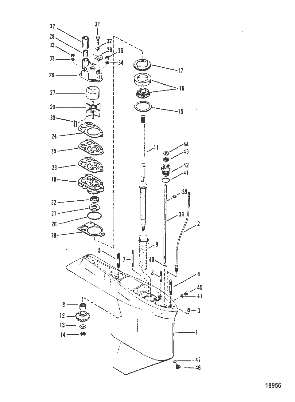
1 . GEAR HSG-BASIC-BL Mercury 9148T47

9148A47 → 9148A11 → 9148T47

292 468 ₽

3 331 ₽

306 ₽

Уточняйте

868 ₽

Уточняйте

Уточняйте

2 421 ₽

1 355 ₽

8 900 ₽

Уточняйте

111 503 ₽

111 830 ₽

Уточняйте

13 . ШАЙБА Mercury 92721

F694186 → 92721

171 ₽

14 . Гайка 35921

47411 → 35921

909 ₽

814 ₽

6 500 ₽

Уточняйте

18 . BASE ASSY-W/P Mercury 8M0077147

42579A3 → 8M0077147

7 200 ₽

356 ₽

337 ₽

20 . Кольцо 8M0142854

896523 → 8M0142854

55 ₽

2 900 ₽

2 500 ₽

451 ₽

403 ₽

661 ₽

26 . Корпус помпы 96148T1

96148A1 → 64141A1 → 48743A1 → 96148T1

8 647 ₽

1 199 ₽

508 ₽

5 272 ₽

30 . КЛЮЧ Mercury 8M0032834

56654 → 8M0032834

323 ₽

201 ₽

113 ₽

266 ₽

144 ₽

342 ₽

Уточняйте

968 ₽

15 284 ₽

39 . Кольцо 29641

20233 → 29641

198 ₽

49 ₽

235 ₽

3 970 ₽

2 100 ₽

140 ₽

45 . 79953q04 Болт сливной с Прокладкой без магнита

79953Q2 → 79953A2 → 79953 → 28634 → 20259 → 79953Q04

900 ₽

46 . 8M0058389 Болт с магнитом сливной (QUICKSILVER)

67892A06 → 67892A05 → 67892A1 → 67892 → 14834A1 → 14834 → 8M0058389

1 700 ₽

250 ₽

Полезные статьи

Все статьи →
Связаться с нами