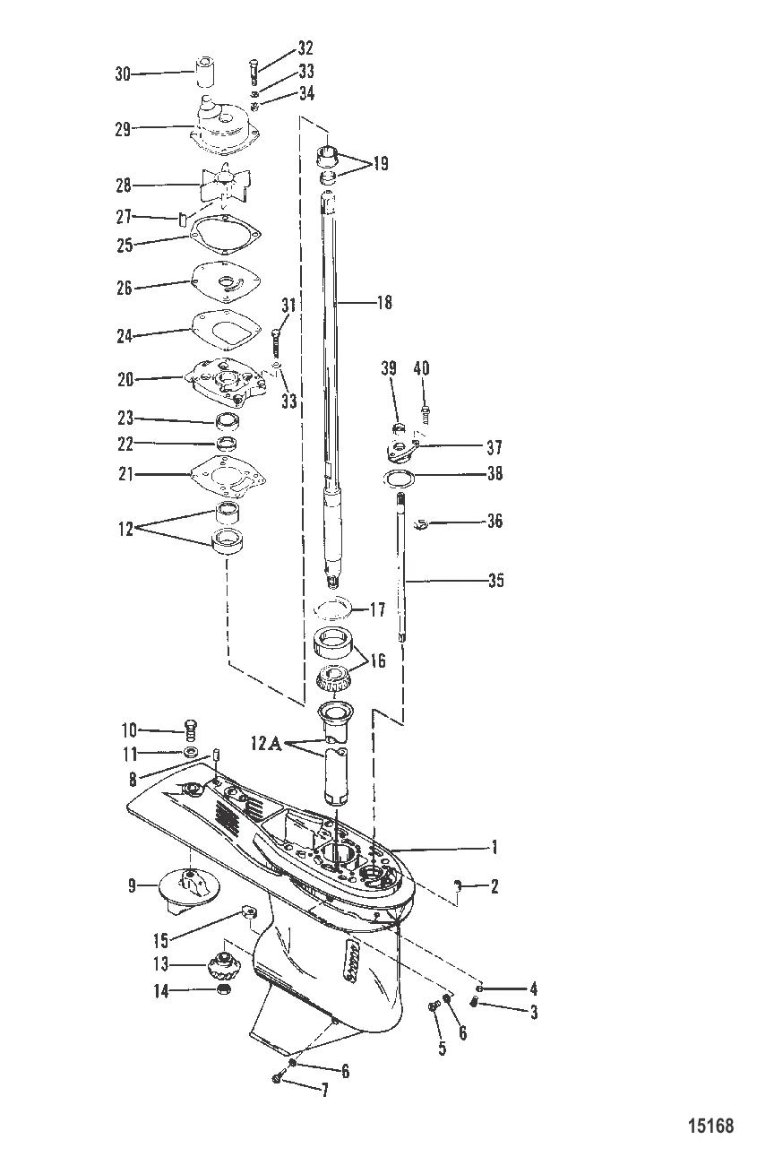
Картер редуктора Ведущий вал — [9506481 THRU 9589038] - Belgium - Cat.# 90-18520 — купить в Victory Marine
Картер редуктора Ведущий вал
2
3
4
11
12
14
17
18
21
22
23
26
27
32
34
36
37
38

Картер редуктора Ведущий вал

1 . ORD 1667-9011T73 Mercury 9011T74

9011A74 → 9011A8 → 9011A29 → 9011T74

152 225 ₽

1 . GEAR HSG-BASIC-BL Mercury 9011T73

9011A73 → 9011A6 → 9011T73

308 076 ₽

382 ₽

299 ₽

109 ₽

5 . 79953Q04 Болт сливной с Прокладкой без магнита (QUICKSILVER)

79953Q2 → 79953A2 → 79953 → 28634 → 20259 → 79953Q04

900 ₽

250 ₽

7 . 8M0058389 Болт с магнитом сливной (QUICKSILVER)

67892A06 → 67892A05 → 67892A1 → 67892 → 14834A1 → 14834 → 8M0058389

1 700 ₽

306 ₽

9 . 31640Q4 Анод MerCruiser Alpha One Quicksilver

316404 → 316403 → 31640A1 → 31640 → 31640Q4

2 400 ₽

856 ₽

11 . Шайба 45176

43042 → 45176

179 ₽

12 015 ₽

3 893 ₽

46 134 ₽

14 . Гайка 35921

47411 → 35921

909 ₽

15 . Переключатель реверса 760394

76039 → 36288 → 30147 → 20860 → 760394

6 002 ₽

8 347 ₽

815 ₽

55 585 ₽

73 774 ₽

3 000 ₽

11 099 ₽

21 . ПРОКЛАДКА Mercury 430472

430471 → 43047 → 430472

792 ₽

2 221 ₽

2 870 ₽

1 290 ₽

560 ₽

Уточняйте

27 . Ключ 8M0032833

43037 → 8M0032833

302 ₽

4 300 ₽

13 577 ₽

31 . ВИНТ (M6 x 25) Mercury 4000330

16166 → 879194250 → 823042039 → 4000330

Уточняйте

254 ₽

103 ₽

110 ₽

8 375 ₽

7 644 ₽

36 . Кольцо 29641

20233 → 29641

198 ₽

7 050 ₽

38 . Кольцо 457101

45710 → 457101

212 ₽

2 100 ₽

40 . ВИНТ (M6 x 1.0 x 20) Mercury 8M4503518

40011128 → 1994020 → 8M4503518

394 ₽

Полезные статьи

Все статьи →
Обслуживание и ремонт

Электросхема лодочного мотора Mercury: популярные модели

Подробный разбор электросхем лодочных моторов Mercury — от простых 9.9/15 двухтактных до мощных 150-200 четырёхтактных. Цветовая маркировка проводов, система зажигания, зарядки и запуска. Диагностика мультиметром, типичные неисправности и когда пора к электрику.

3 мин.
Гайды и подбор

Как правильно спустить лодку на воду — с берега, прицепа и слипа

Пошаговая инструкция по спуску лодки: с необорудованного берега, с прицепа и со слипа. Разбираем типичные ошибки — от забытой пробки до оторванного страховочного троса.

1 мин.
Гайды и подбор

Ловля окуня на спиннинг с лодки — микроджиг, вертушки, воблеры

Разбираем ловлю окуня с лодки на спиннинг: микроджиг, вращающиеся блёсны, воблеры, вертикальное блеснение. Как найти стаю, подобрать приманку и получить максимум удовольствия.

1 мин.
Связаться с нами