Популярные города
Товаров не найдено, но мы можем привезти под заказ
Нет аккаунта?
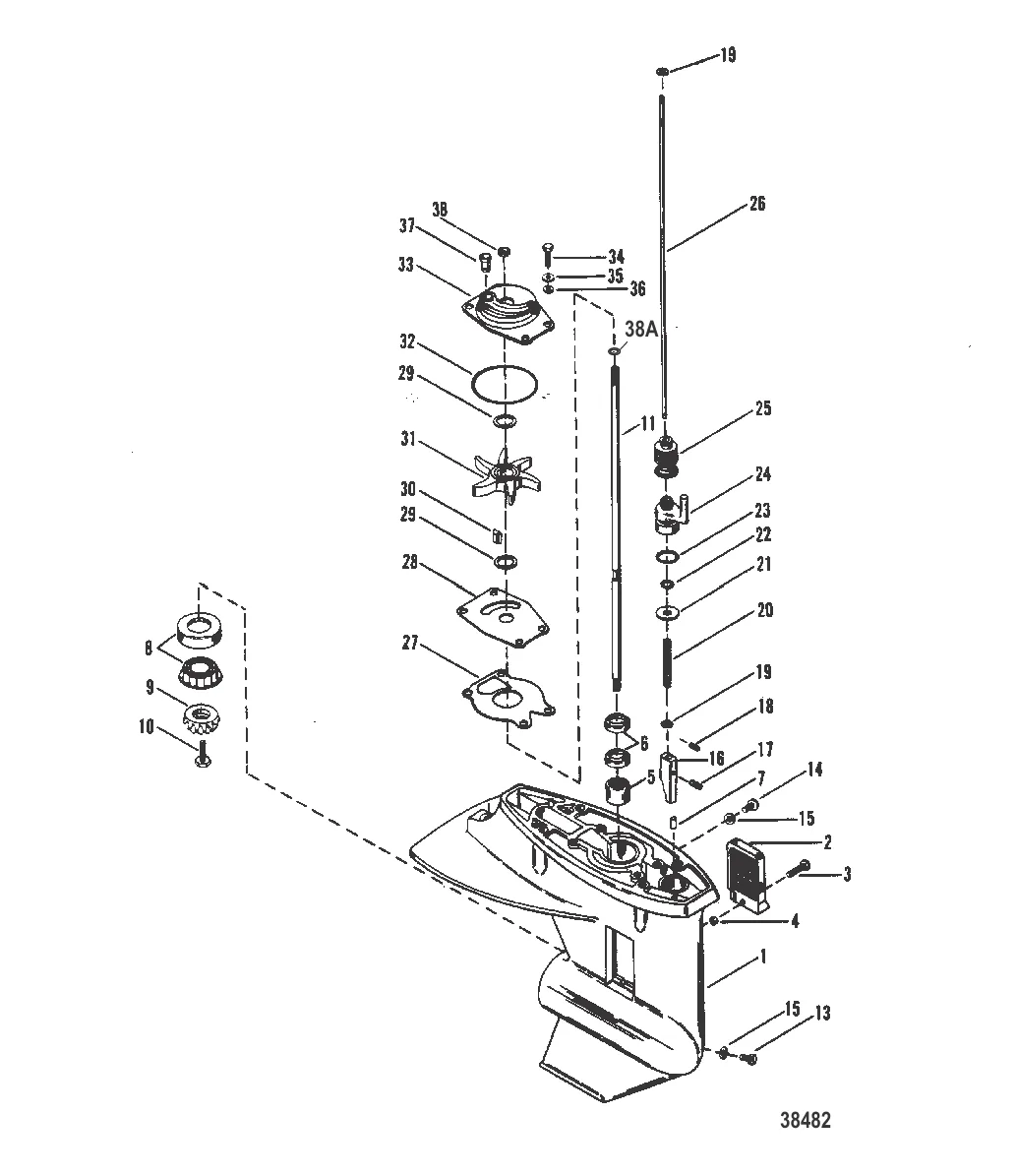
УПЛОТНИТЕЛЬНОЕ КОЛЬЦО Mercury 99691
99691
288 ₽
Три способа перевозки лодки ПВХ: в багажнике, на крыше автомобиля, на прицепе. Разбираем плюсы и минусы каждого варианта, правила крепления, юридические нюансы и советы из реального опыта.
Всё о форелевых платниках Подмосковья: как они устроены, цены, снасти и приманки, и на что обращать внимание при выборе водоёма.
Полный гайд по спиннинговой ловле щуки с лодки: лучшие приманки по сезонам, техника проводки, выбор мест и типичные ошибки. Практические советы от опытных рыболовов.
Контакты
+7 800 555-65-49
Бесплатно по России — нажмите, чтобы позвонить
Написать нам
Перезвоните мне
Оставьте номер — наш эксперт перезвонит и подберёт нужные запчасти
Нажимая кнопку, вы соглашаетесь на обработку персональных данных
Наш эксперт свяжется с вами в ближайшее время
Скидка будет применена к вашему заказу