Популярные города
Товаров не найдено, но мы можем привезти под заказ
Нет аккаунта?
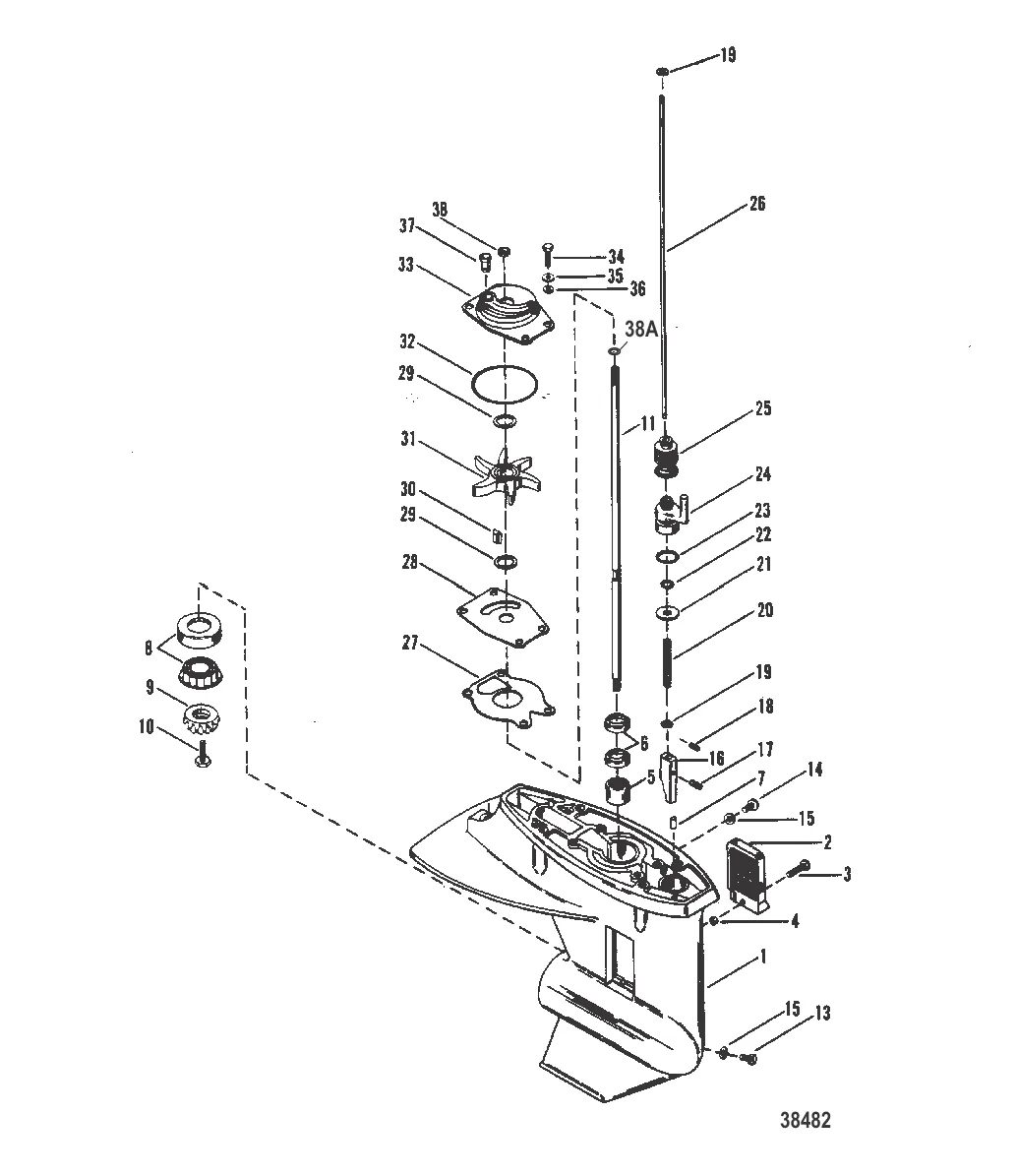
УПЛОТНИТЕЛЬНОЕ КОЛЬЦО Mercury 99691
99691
288 ₽
Подробный календарь клёва рыбы на 2026 год с помесячным прогнозом для щуки, судака, окуня, леща, карпа и сома. Лунные фазы, лучшие приманки и региональные поправки.
Сравнение эхолотов Lowrance и Garmin 2026: функции, экраны, цены и рекомендации для рыбалки с лодки.
Полная таблица пропорций масла и бензина для двухтактных лодочных моторов Yamaha, Mercury, Tohatsu, Honda. Что будет, если перелить или недолить масло, и какое масло TC-W3 выбрать.
Контакты
+7 800 555-65-49
Бесплатно по России — нажмите, чтобы позвонить
Написать нам
Перезвоните мне
Оставьте номер — наш эксперт перезвонит и подберёт нужные запчасти
Нажимая кнопку, вы соглашаетесь на обработку персональных данных
Наш эксперт свяжется с вами в ближайшее время
Скидка будет применена к вашему заказу