Популярные города
Товаров не найдено, но мы можем привезти под заказ
Нет аккаунта?
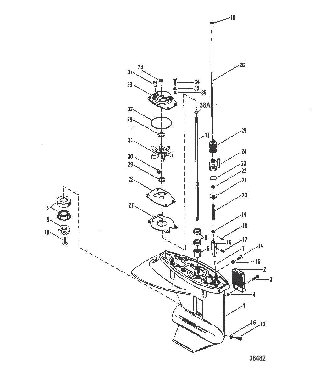
УПЛОТНИТЕЛЬНОЕ КОЛЬЦО Mercury 99691
99691
288 ₽
Полное руководство по ловле судака с лодки: выбор места, джиг и троллинг, подбор приманок, использование эхолота и типичные ошибки начинающих.
Подробная инструкция по ремонту редуктора (lower unit) лодочного мотора Mercury: диагностика, снятие, замена сальников, шестерён и подшипников, сборка. Конкретные артикулы запчастей и сравнение стоимости самостоятельного ремонта с сервисом.
Разбираемся, какой мотор можно ставить без прав и регистрации в ГИМС. Правило 200 кг и 8 кВт, путаница с лошадиными силами, что реально проверяют инспекторы и чем грозит нарушение.
Контакты
+7 800 555-65-49
Бесплатно по России — нажмите, чтобы позвонить
Написать нам
Перезвоните мне
Оставьте номер — наш эксперт перезвонит и подберёт нужные запчасти
Нажимая кнопку, вы соглашаетесь на обработку персональных данных
Наш эксперт свяжется с вами в ближайшее время
Скидка будет применена к вашему заказу