Картер редуктора Ведущий вал — [0N001875 THRU 0N055504] - Belgium — купить в Victory Marine
Картер редуктора Ведущий вал
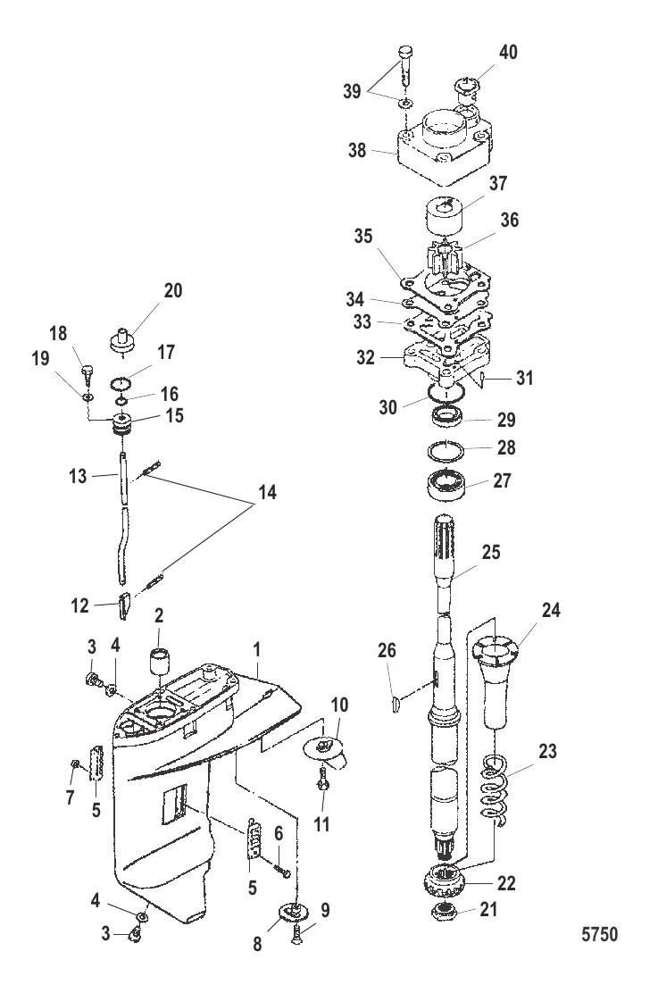
1
2
5
6
7
8
9
11
12
13
14
15
16
17
18
19
20
21
22
23
24
25
26
28
30
31
32
33
34
36
37
38
39
40

Картер редуктора Ведущий вал

1 . GC BASIC 25/30 4S Mercury 8M0057242

825132T34 → 8M0057242

66 973 ₽

4 671 ₽

698 ₽

1 065 ₽

193 ₽

285 ₽

766 ₽

9 . ВИНТ Mercury 898101959

160941 → 898101959

184 ₽

Уточняйте

286 ₽

12 . CLUTCH CAM 8M0172382

898103166 → 8M0172382

4 152 ₽

3 109 ₽

3 348 ₽

2 867 ₽

2 531 ₽

129 ₽

2 660 ₽

210 ₽

287 ₽

18 . БОЛТ (M6 x 12) Mercury 8230427

879194261 → 82304234 → 8230427

171 ₽

19 . Шайба 953921

16237 → 16224 → 953921

284 ₽

339 ₽

1 670 ₽

4 341 ₽

136 ₽

24 . Трубка 853765T

853765 → 853765T

1 737 ₽

43 074 ₽

43 638 ₽

41 530 ₽

43 947 ₽

997 ₽

4 529 ₽

499 ₽

507 ₽

508 ₽

474 ₽

922 ₽

360 ₽

386 ₽

5 000 ₽

258 ₽

448 ₽

400 ₽

Уточняйте

904 ₽

6 495 ₽

39 . БОЛТ Mercury 823042046

8230425 → 823042046

588 ₽

315 ₽

Полезные статьи

Все статьи →
Связаться с нами