КАРТЕР РЕДУКТОРА (ВЕДУЩИЙ ВАЛ) — [7143688 & Up] - Canada - Cat.# 90-90694 — купить в Victory Marine
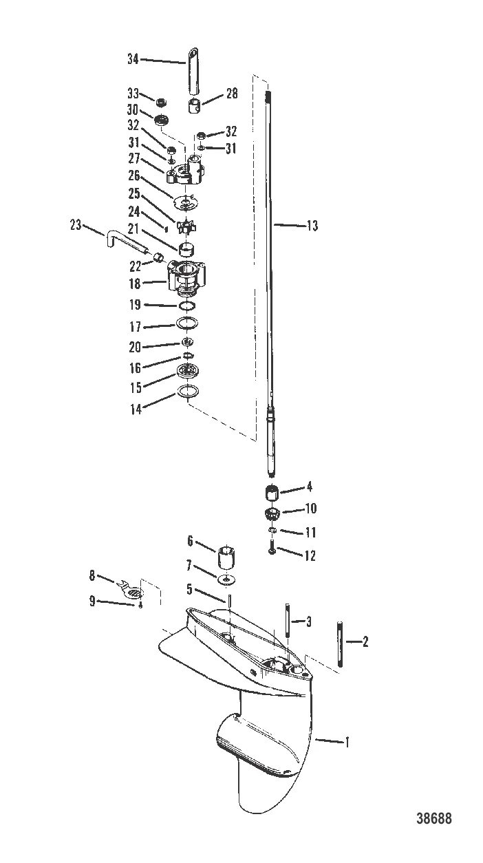
КАРТЕР РЕДУКТОРА (ВЕДУЩИЙ ВАЛ)
1
2
3
4
5
7
8
9
10
11
12
13
15
16
17
18
19
20
21
22
23
24
25
26
28
30
31
32
33
34

КАРТЕР РЕДУКТОРА (ВЕДУЩИЙ ВАЛ)

40 208 ₽

2 . ШПИЛЬКА Mercury 58138

53466 → 30716 → 58138

Уточняйте

Уточняйте

3 256 ₽

4 505,4 ₽

642 ₽

745 ₽

9 . ВИНТ Mercury 25612

21111 → 25612

Уточняйте

14 384 ₽

674 ₽

Уточняйте

13 . ВЕДУЩИЙ ВАЛ Mercury 95873A1

92423 → 79824 → 95873A1

Уточняйте

13 . ВЕДУЩИЙ ВАЛ Mercury 95874A1

92424 → 79825 → 95874A1

Уточняйте

8 017 ₽

89 ₽

Уточняйте

10 616 ₽

8 799 ₽

303 ₽

2 618 ₽

1 869 ₽

21 . INSERT Mercury 70977T

70977 → 46894 → 70977T

1 254 ₽

659 ₽

1 317 ₽

707 ₽

4 294 ₽

3 163 ₽

664 ₽

5 038 ₽

735 ₽

3 259 ₽

183 ₽

266 ₽

315 ₽

34 . втулка @5 Mercury 31792T

31792 → 30960 → 31792T

1 792 ₽

Полезные статьи

Все статьи →
Гайды и подбор

Судовой билет на лодку — что это, как получить и что в нём указано

Судовой билет — главный документ маломерного судна, без которого вас оштрафуют при первой же проверке ГИМС. Разбираем, кому он нужен, как его получить и что делать при утере.

1 мин.
Гайды и подбор

Солнечная батарея для лодки — зарядка аккумулятора на воде без берега

Разбираемся, какую солнечную панель поставить на лодку, чтобы аккумулятор не сдох посреди водохранилища. Гибкие, жёсткие, складные — считаем ватты, выбираем контроллер и собираем автономную систему.

1 мин.
Гайды и подбор

Как увеличить скорость лодки ПВХ — 10 проверенных способов без замены мотора

Разбираем 10 реальных способов добавить скорости ПВХ-лодке без покупки нового мотора: правильный винт, развесовка, давление в баллонах, гидрокрыло, высота установки и другое.

1 мин.
Связаться с нами