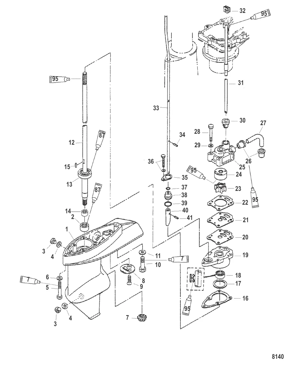
Картер редуктора Ведущий вал — [0P401000 THRU 0R411837] - Belgium — купить в Victory Marine
Картер редуктора Ведущий вал
2
8
9
10
11
12
13
14
17
18
19
21
22
25
27
28
31
32
33
34
35
36
37
39
40
41

Картер редуктора Ведущий вал

1 . Корпус редуктора 825132T30

825132T17 → 825132T1 → 825132A1 → 9620 → 825132T30

34 763 ₽

104 893 ₽

1 683 ₽

698 ₽

959 ₽

766 ₽

190 ₽

10 . БОЛТ Mercury 16126

16698 → 16126

218 ₽

11 . ШАЙБА Mercury 16192

879194339 → 895106001 → 16192

167 ₽

12 . DRIVEвал Mercury 8M0076367

161351 → 8M0076367

14 634 ₽

12 . DRIVEвал Mercury 8M0076368

161361 → 8M0076368

17 440 ₽

1 479 ₽

Уточняйте

140 ₽

500 ₽

17 . Шайба 161631

16163 → 161631

531 ₽

509 ₽

1 200 ₽

3 040 ₽

278 ₽

328 ₽

291 ₽

1 706 ₽

635 ₽

826 ₽

291 ₽

Уточняйте

28 . болт Mercury 8M0063198

161251 → 8M0063198

190 ₽

133 ₽

253 ₽

3 443 ₽

3 718 ₽

140 ₽

Уточняйте

1 759 ₽

129 ₽

266 ₽

36 . БОЛТ Mercury 823042

879194263 → 825702002 → 823042

238 ₽

37 . Кольцо 161771

16177 → 161771

147 ₽

194 ₽

183 ₽

1 476 ₽

157 ₽

Полезные статьи

Все статьи →
Связаться с нами