Картер редуктора в сборе 2/2.5 л.с. — [0T894577 & Up] - USA — купить в Victory Marine
Картер редуктора в сборе 2/2.5 л.с.
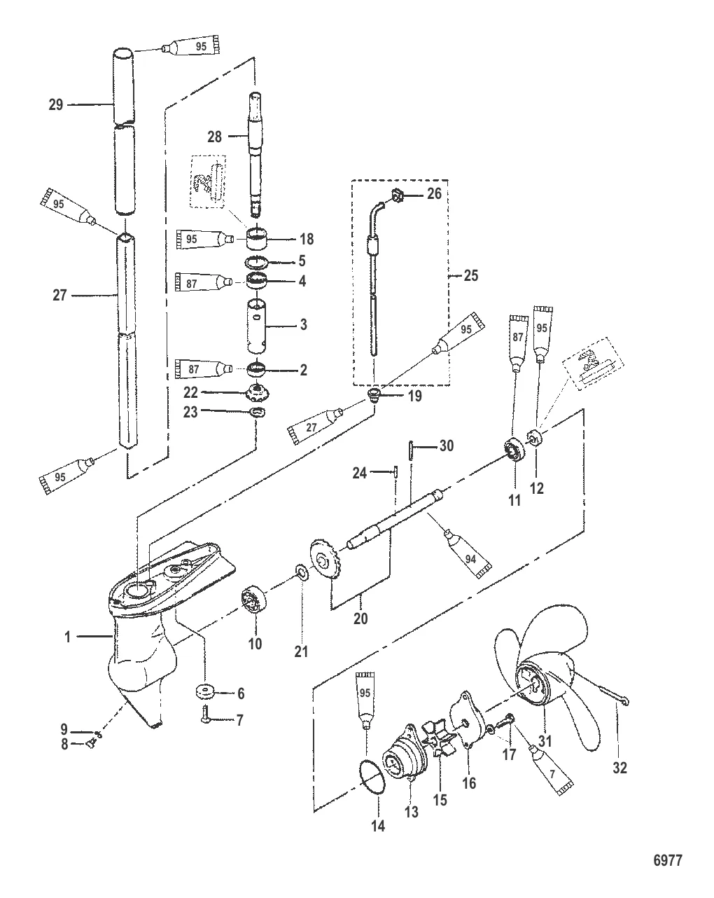
3
5
7
10
11
12
13
15
16
17
18
19
20
22
23
24
25
26
27
28
29
32

Картер редуктора в сборе 2/2.5 л.с.

25 401 ₽

1 656 ₽

Уточняйте

290 ₽

1 715 ₽

221 ₽

698 ₽

1 479 ₽

1 721 ₽

540 ₽

13 . Помпа 952871

95287 → 952871

3 334 ₽

157 ₽

1 645 ₽

1 710 ₽

286 ₽

946 ₽

171 ₽

14 669 ₽

548 ₽

648 ₽

136 ₽

198 ₽

1 131 ₽

Уточняйте

255 ₽

5 576 ₽

3 147 ₽

1 368 ₽

5 010 ₽

1 648 ₽

1 854 ₽

9 330 ₽

17 058 ₽

21 009 ₽

9 328 ₽

32 . Шплинт 95295

82135M → 84428M → 95295

579 ₽

Полезные статьи

Все статьи →
Связаться с нами