Картер редуктора Привод 2.07:1 USA-0T627235/BEL-0P215669 и выше — [0P017000 THRU 0P058999] - Belgium — купить в Victory Marine
Картер редуктора Привод 2.07:1 USA-0T627235/BEL-0P215669 и выше
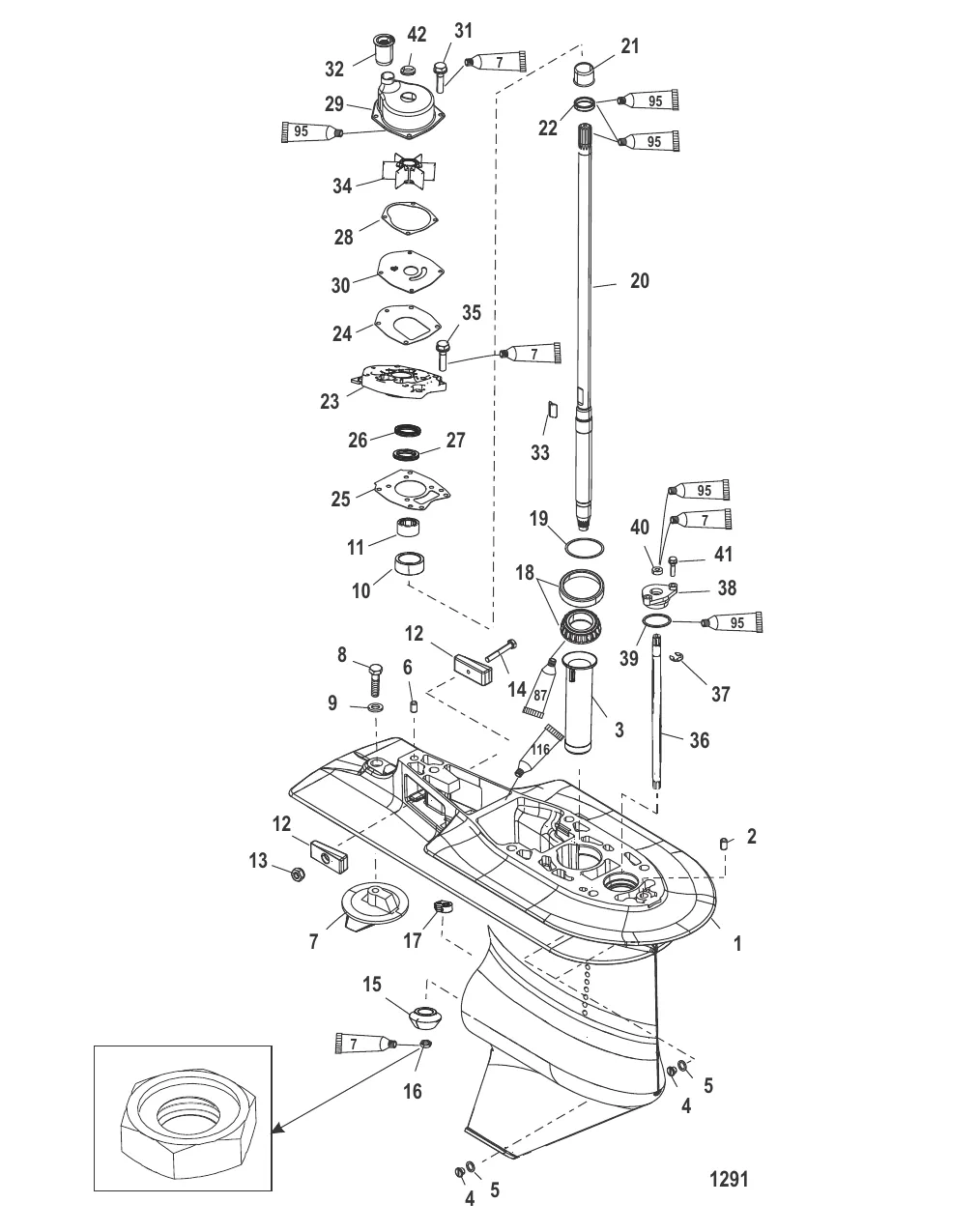
2
3
9
10
13
14
16
17
19
20
21
22
25
26
27
31
32
33
37
38
39
41
42

Картер редуктора Привод 2.07:1 USA-0T627235/BEL-0P215669 и выше

193 704 ₽

382 ₽

3 893 ₽

4 . 79953q04 Болт сливной с Прокладкой без магнита

79953Q2 → 79953A2 → 79953 → 28634 → 20259 → 79953Q04

900 ₽

4 . 8M0058389 Болт с магнитом сливной (QUICKSILVER)

67892A06 → 67892A05 → 67892A1 → 67892 → 14834A1 → 14834 → 8M0058389

1 700 ₽

250 ₽

306 ₽

856 ₽

258 ₽

12 015 ₽

442 ₽

439 ₽

16 . Гайка 35921

47411 → 35921

909 ₽

6 287 ₽

12 341 ₽

815 ₽

55 585 ₽

73 774 ₽

3 000 ₽

Уточняйте

11 099 ₽

1 290 ₽

25 . ПРОКЛАДКА Mercury 430472

430471 → 43047 → 430472

792 ₽

2 870 ₽

2 221 ₽

600 ₽

13 577 ₽

1 900 ₽

306 ₽

1 390 ₽

33 . Ключ 8M0032833

43037 → 8M0032833

302 ₽

4 300 ₽

14 476 ₽

17 247 ₽

37 . Кольцо 29641

20233 → 29641

198 ₽

7 050 ₽

39 . Кольцо 457101

45710 → 457101

212 ₽

2 100 ₽

273 ₽

203 ₽

Полезные статьи

Все статьи →
Обслуживание и ремонт

Частые поломки лодочных моторов Mercury: диагностика и ремонт

Разбираем самые частые неисправности моторов Mercury — от банальных свечей до серьёзных проблем с редуктором и ЭБУ. Пошаговая диагностика, таблица кодов ошибок EFI и советы по профилактике из 15-летнего опыта сервиса.

1 мин.
Гайды и подбор

Ловля щуки на кружки с лодки — оснастка, живец, тактика

Подробный гайд по ловле щуки на кружки: устройство снасти, оснастка, выбор и насадка живца, тактика расстановки и управления. Традиционная русская техника, которая работает безотказно.

1 мин.
Гайды и подбор

Правильная установка лодочного мотора на транец: высота, угол, регулировка

Как правильно установить подвесной мотор на транец ПВХ-лодки или катера: высота антикавитационной плиты, регулировка трима, центровка, страховочный трос и проверка на воде.

1 мин.
Связаться с нами