КАРТЕР РЕДУКТОРА (BRAVO III)(КОРПУС ИЗ ДВУХ ЧАСТЕЙ) — [0F730000 THRU 0M100000] — купить в Victory Marine
КАРТЕР РЕДУКТОРА (BRAVO III)(КОРПУС ИЗ ДВУХ ЧАСТЕЙ)
4
7
14
15
16
17
23
26
28
39
43
50
52

КАРТЕР РЕДУКТОРА (BRAVO III)(КОРПУС ИЗ ДВУХ ЧАСТЕЙ)

307 845 ₽

Уточняйте

Уточняйте

1 100 ₽

Уточняйте

236 ₽

2 800 ₽

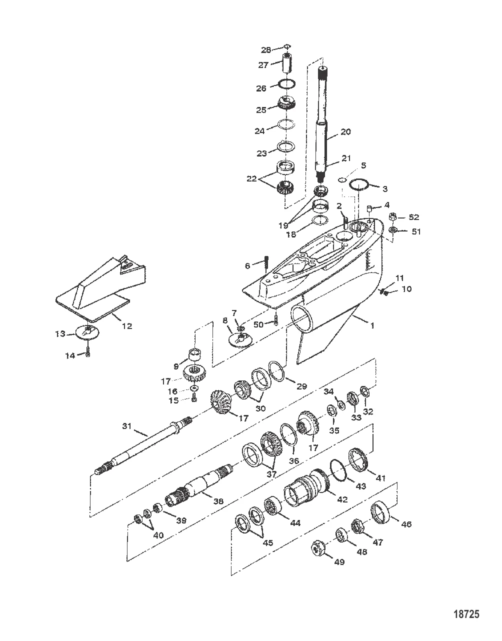
10 . 8M0058389 Болт с магнитом сливной (QUICKSILVER)

67892A06 → 67892A05 → 67892A1 → 67892 → 14834A1 → 14834 → 8M0058389

1 700 ₽

250 ₽

60 737 ₽

518 ₽

258 ₽

Уточняйте

134 908 ₽

160 000 ₽

135 000 ₽

135 269 ₽

7 500 ₽

6 700 ₽

108 000 ₽

9 000 ₽

22 . 8M0103473 Подшипник вала Mercruiser Bravo 1,2,3

86748A1 → F506818 → F508814 → 8M0103473

7 500 ₽

3 000 ₽

5 990 ₽

3 450 ₽

26 . 20826 Кольцо

20311 → 20826

250 ₽

17 226 ₽

139 ₽

10 000 ₽

130 000 ₽

10 000 ₽

2 500 ₽

1 000 ₽

9 900 ₽

22 000 ₽

175 000 ₽

5 500 ₽

14 900 ₽

68 500 ₽

206 ₽

21 000 ₽

10 990 ₽

5 200 ₽

8 900 ₽

3 000 ₽

429 ₽

300 ₽

52 . NUT Nylon 8M0143423

35053 → 8M0143423

1 431 ₽

Полезные статьи

Все статьи →
Связаться с нами