КАРБЮРАТОР В СБОРЕ — [9385911 THRU 9469199] - Belgium - Cat.# 90-13288 — купить в Victory Marine
КАРБЮРАТОР В СБОРЕ
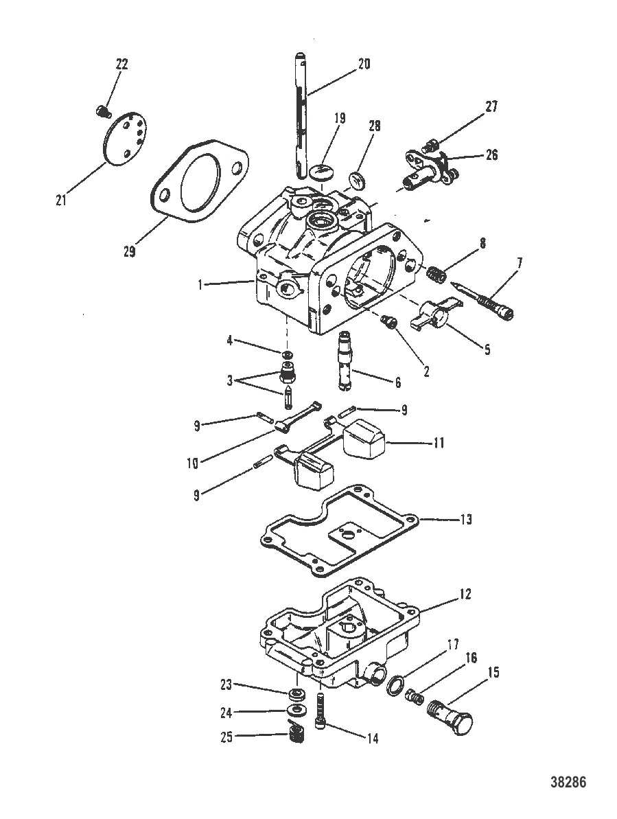
1
2
3
5
11
12
15
20
21
23
24
26
28
29

КАРБЮРАТОР В СБОРЕ

Уточняйте

Уточняйте

2 071 ₽

3 176 ₽

7 332 ₽

4 493 ₽

Уточняйте

Уточняйте

2 468 ₽

2 246 ₽

1 831 ₽

Уточняйте

Уточняйте

Уточняйте

1 329 ₽

Уточняйте

Уточняйте

Уточняйте

536 ₽

Полезные статьи

Все статьи →
Сравнения и обзоры

Раздушка мотора 9.9 до 15 л.с.: как это делается и чем грозит

Разбираем раздушку лодочных моторов Mercury 9.9 и Tohatsu 9.8 до 15 л.с. — что меняется внутри, сколько стоит, как влияет на ресурс, гарантию и регистрацию. Когда имеет смысл, а когда лучше не трогать.

1 мин.
Гайды и подбор

Рыбалка на Ладоге с лодки — виды рыб, места, сезоны, правила

Ладожское озеро — крупнейший пресный водоём Европы и настоящий рыболовный клондайк. Разбираем лучшие места, видовой состав, сезонный календарь и правила безопасности на «большой воде».

1 мин.
Гайды и подбор

Чехол и транспортировочный тент для лодочного мотора — зачем нужен и как выбрать

Разбираемся, зачем лодочному мотору чехол, какие бывают — транспортировочные, стояночные, полные — и как подобрать по мощности и марке. Конкретные модели, материалы и цены.

1 мин.
Связаться с нами