Карбюратор и пластина аттенюатора — [0B240451 THRU 0C221999] - USA - Cat.# 90-18520 — купить в Victory Marine
Карбюратор и пластина аттенюатора
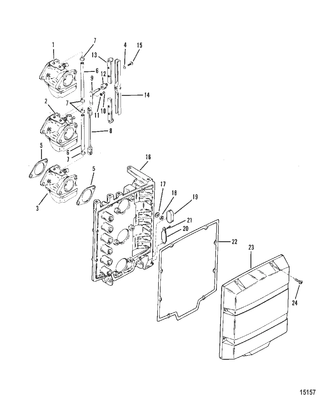
1
2
3
5
7
8
9
10
11
12
13
14
17
18
19
20
21
22

Карбюратор и пластина аттенюатора

Уточняйте

41 654 ₽

Уточняйте

Уточняйте

Уточняйте

Уточняйте

Уточняйте

Уточняйте

Уточняйте

Уточняйте

Уточняйте

Уточняйте

Уточняйте

Уточняйте

Уточняйте

252 ₽

3 874 ₽

45 ₽

8 . LINK Mercury 8M0084744

193858 → 8M0084744

3 168 ₽

3 883 ₽

Уточняйте

146 ₽

934 ₽

794 ₽

14 . LINK Mercury 98887T

98887 → 98887T

1 179 ₽

42 467 ₽

179 ₽

369 ₽

737 ₽

403 ₽

252 ₽

Уточняйте

9 388 ₽

225 ₽

Полезные статьи

Все статьи →
Связаться с нами