КАРБЮРАТОР И ОБОГАТИТЕЛЬ В СБОРЕ — [7127388 & Up] - Canada - Cat.# 90-13716 — купить в Victory Marine
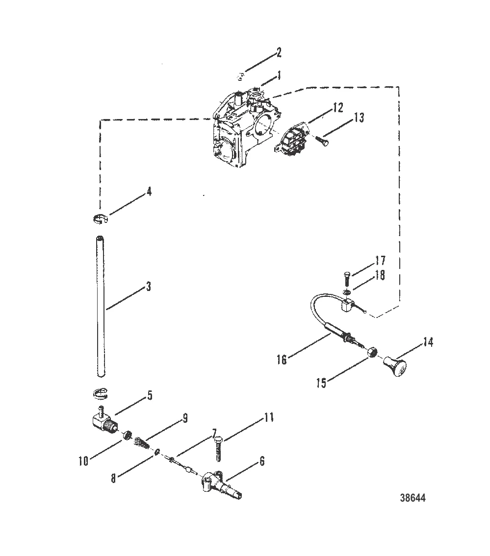
КАРБЮРАТОР И ОБОГАТИТЕЛЬ В СБОРЕ
1
2
4
5
6
7
9
10
11
12
14
15
16
17
18

КАРБЮРАТОР И ОБОГАТИТЕЛЬ В СБОРЕ

1 . карбюратор Mercury 8783A14

8783A4 → 5645A3 → 4910A1 → 8783A14

Уточняйте

1 . карбюратор Mercury 8782A13

8782A3 → 6648 → 6062 → 5645A7 → 5645A1 → 4898A1 → 8782A13

Уточняйте

202 ₽

8 732 ₽

231 ₽

8 310 ₽

10 250 ₽

2 166 ₽

171 ₽

522 ₽

239 ₽

Уточняйте

Уточняйте

136 ₽

Уточняйте

Уточняйте

3 686 ₽

147 ₽

Уточняйте

Полезные статьи

Все статьи →
Связаться с нами