КАРБЮРАТОР И ОБОГАТИТЕЛЬ В СБОРЕ — [5206550 & Up] - USA - Cat.# 90-13716 — купить в Victory Marine
КАРБЮРАТОР И ОБОГАТИТЕЛЬ В СБОРЕ
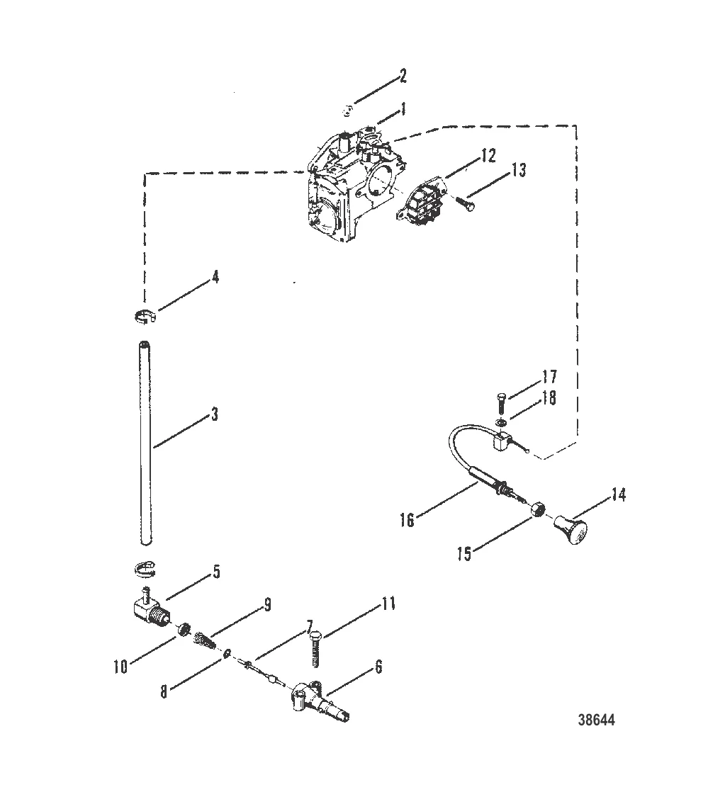
1
2
4
5
6
7
9
10
11
12
14
15
16
17
18

КАРБЮРАТОР И ОБОГАТИТЕЛЬ В СБОРЕ

1 . карбюратор Mercury 8783A14

8783A4 → 5645A3 → 4910A1 → 8783A14

Уточняйте

1 . карбюратор Mercury 8782A13

8782A3 → 6648 → 6062 → 5645A7 → 5645A1 → 4898A1 → 8782A13

Уточняйте

202 ₽

8 732 ₽

231 ₽

8 310 ₽

10 250 ₽

2 166 ₽

171 ₽

522 ₽

239 ₽

Уточняйте

Уточняйте

136 ₽

Уточняйте

Уточняйте

3 686 ₽

147 ₽

Уточняйте

Полезные статьи

Все статьи →
Гайды и подбор

Отводной поводок, дроп-шот и каролина — разнесённые оснастки

Разнесённые оснастки — секретное оружие спиннингиста, когда рыба капризничает. Подробно разбираем отводной поводок, дроп-шот и каролинскую оснастку: монтажи, техника, ошибки.

1 мин.
Гайды и подбор

Как определить год выпуска мотора Mercury по серийному номеру

Подробная инструкция по расшифровке серийного номера подвесных моторов Mercury, MerCruiser и Mariner. Полные таблицы серийных диапазонов с 1980-х по 2026 год, пошаговые примеры и советы по подбору запчастей.

3 мин.
Обслуживание и ремонт

Замена масла в поворотно-откидной колонке MerCruiser — инструкция

Пошаговая инструкция по замене масла в поворотно-откидной колонке MerCruiser Alpha One и Bravo. Разбираем сроки замены, выбор масла, инструменты, процедуру и проверку на водяную контаминацию.

1 мин.
Связаться с нами