Карбюратор — [0R000001 THRU 0R067089] - USA — купить в Victory Marine
Карбюратор
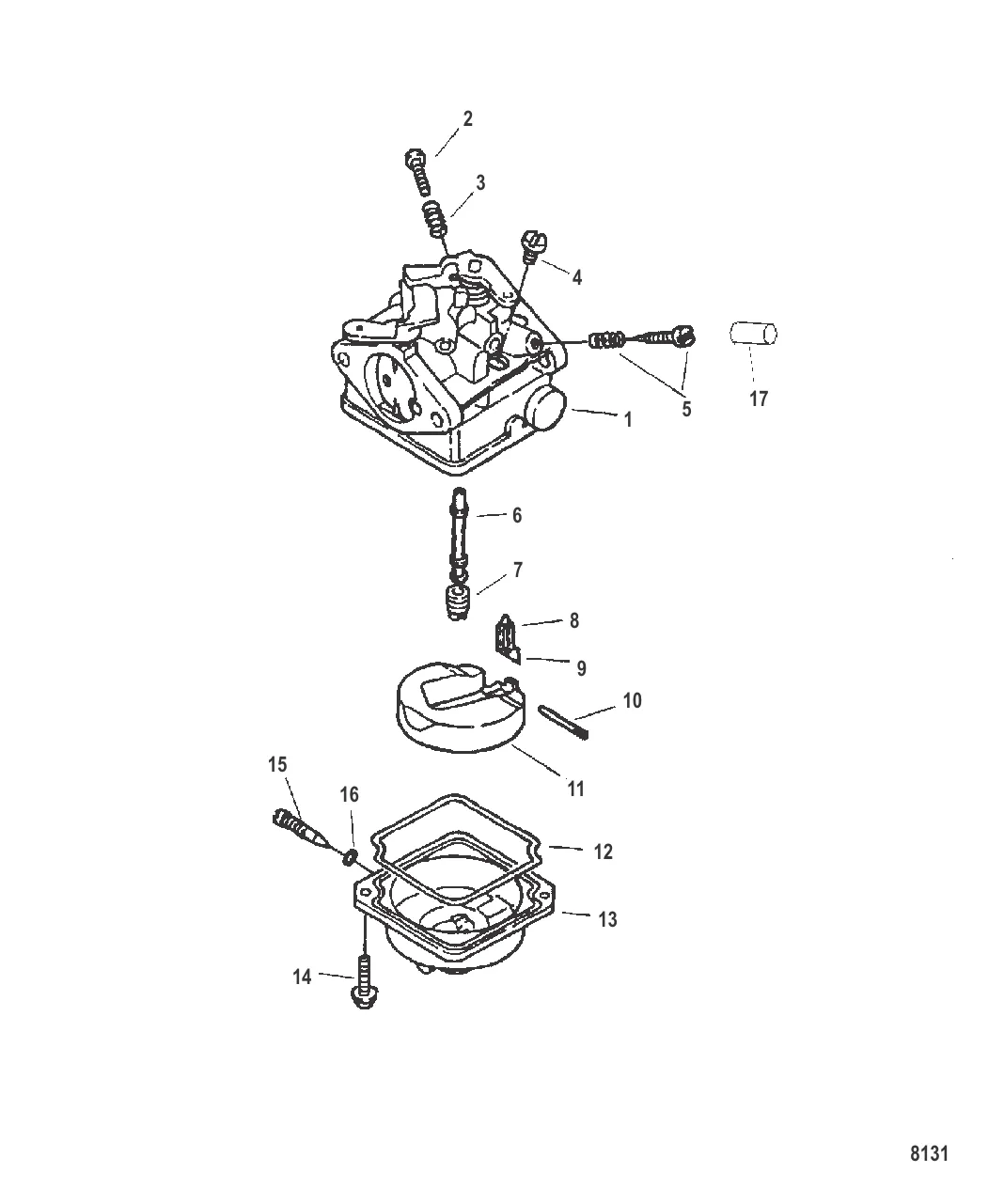
1
2
3
4
5
6
7
8
9
11
12
13
14
15
16
17

Карбюратор

53 856 ₽

Уточняйте

15 896 ₽

Уточняйте

55 727 ₽

23 147 ₽

15 819 ₽

39 271 ₽

Уточняйте

14 218 ₽

Уточняйте

1 031 ₽

239 ₽

1 317 ₽

1 520 ₽

1 605 ₽

1 454 ₽

2 072 ₽

2 272 ₽

2 229 ₽

2 294 ₽

869 ₽

599 ₽

2 110 ₽

1 863 ₽

1 168 ₽

1 408 ₽

1 438 ₽

1 233 ₽

949 ₽

1 748 ₽

1 831 ₽

400 ₽

386 ₽

2 471 ₽

748 ₽

4 526 ₽

233 ₽

851 ₽

192 ₽

344 ₽

346 ₽

Полезные статьи

Все статьи →
Связаться с нами