Карбюратор 0E000001-0E009499 — [0E000001 THRU 0E093699] - USA — купить в Victory Marine
Карбюратор 0E000001-0E009499
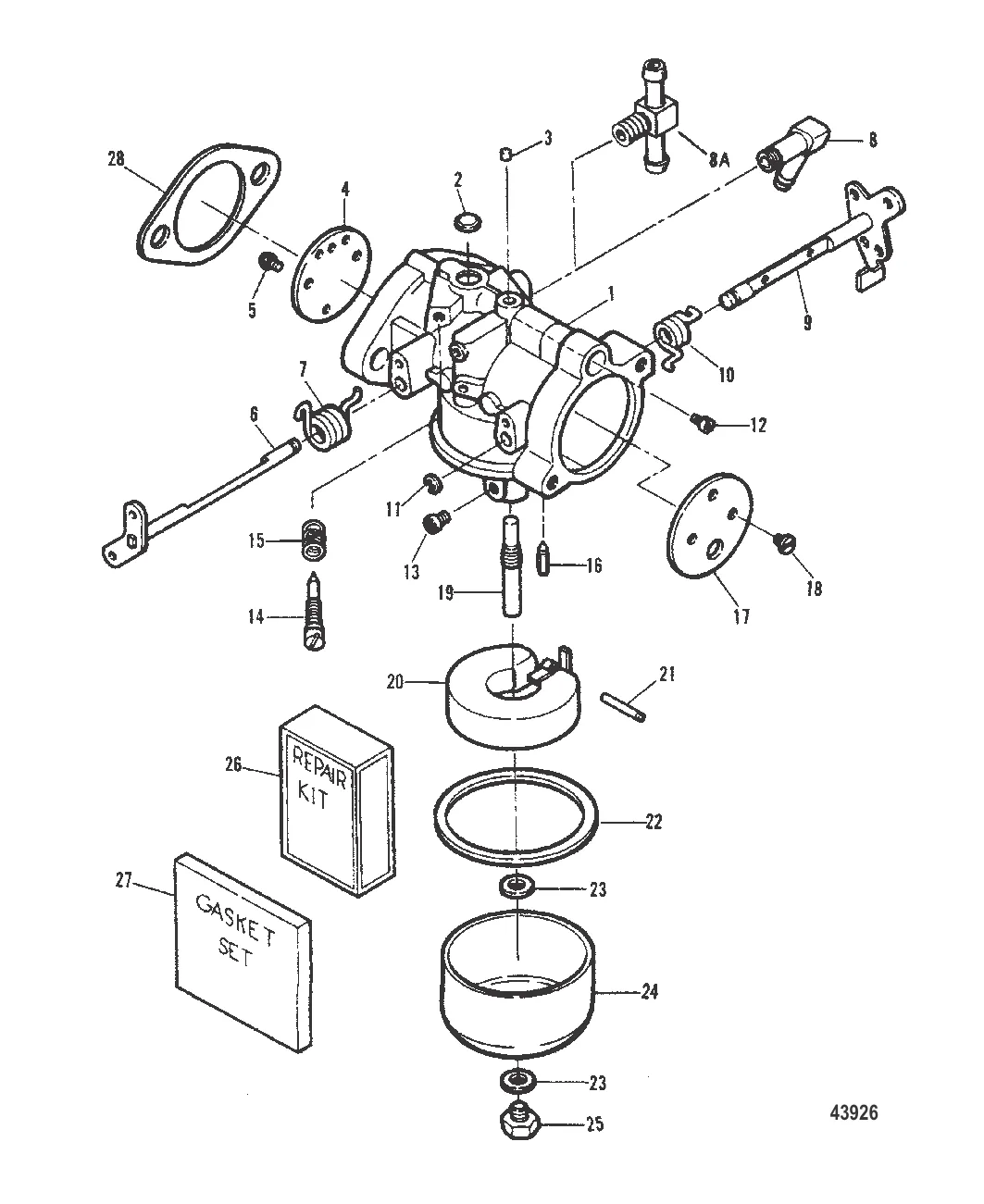
1
2
3
4
6
7
8
9
10
11
12
13
14
15
16
17
18
19
20
21
22
24
25
26
27
28

Карбюратор 0E000001-0E009499

1 . CARB-MID OR BOT Mercury 803921T

F832061-3 → 803921T

Уточняйте

Уточняйте

2 . ПРОБКА Mercury FO16128

FO106128 → FO16128

387 ₽

942 ₽

Уточняйте

Уточняйте

474 ₽

Уточняйте

6 086 ₽

Уточняйте

627 ₽

Уточняйте

Уточняйте

1 831 ₽

1 667 ₽

1 643 ₽

1 184 ₽

1 643 ₽

2 163 ₽

515 ₽

16 . ИГЛА Впуск Mercury F10265

FK10264 → F10264 → F10265

2 027 ₽

Уточняйте

332 ₽

Уточняйте

5 023 ₽

717 ₽

376 ₽

283 ₽

3 707 ₽

25 . ВИНТ Mercury 5128

FO13945 → 5128

505 ₽

6 521 ₽

1 029 ₽

171 ₽

Полезные статьи

Все статьи →
Связаться с нами