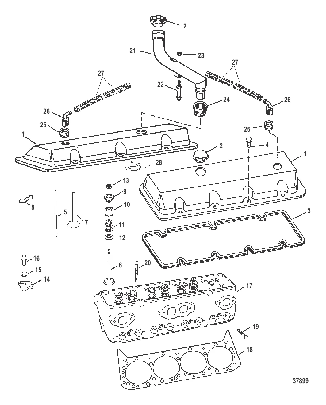
ГОЛОВКА ЦИЛИНДРА И КРЫШКА КОРОМЫСЛА (454 MAGNUM) — 1996-1997 [0F800700 THRU 0K999999] — купить в Victory Marine
ГОЛОВКА ЦИЛИНДРА И КРЫШКА КОРОМЫСЛА (454 MAGNUM)
1
2
3
4
5
6
7
8
9
10
11
13
14
15
16
17
19
20
21
22
24
25
26
27
28

ГОЛОВКА ЦИЛИНДРА И КРЫШКА КОРОМЫСЛА (454 MAGNUM)

28 306 ₽

4 100 ₽

20 930 ₽

1 577 ₽

4 805 ₽

4 622 ₽

17 663 ₽

16 105 ₽

7 . КЛАПАН Впуск Mercury 801877

17056 → 811543 → 801877

11 242 ₽

Уточняйте

1 698 ₽

9 648 ₽

1 208 ₽

5 513 ₽

723 ₽

13 . КЛЮЧ Mercury 54530

37529 → 54530

746 ₽

9 708 ₽

Уточняйте

1 410 ₽

92 724 ₽

13 713 ₽

Уточняйте

Уточняйте

10 441 ₽

735 ₽

363 ₽

4 067 ₽

3 229 ₽

781 ₽

27 . РУКАВ Mercury 8M0086022

1589424 → 8M0086022

5 656 ₽

332 ₽

Полезные статьи

Все статьи →
Связаться с нами