Головка цилиндра — [1B227000 THRU 1B366822] - USA — купить в Victory Marine
Головка цилиндра
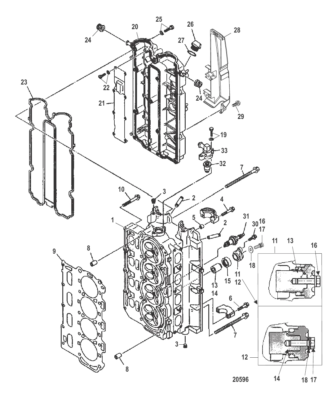
1
2
3
4
5
6
7
8
9
10
11
13
14
15
16
17
18
19
21
22
23
24
25
26
27
28
29
30
32
33

Головка цилиндра

220 393 ₽

2 730 ₽

142 ₽

99 ₽

187 ₽

204 ₽

1 544 ₽

8 . DOWEL PIN Mercury 8M0070515

804116 → 8M0070515

188 ₽

9 . Прокладка 8041151

804115 → 8041151

7 865 ₽

492 ₽

1 253 ₽

13 . АНОД Mercury 804079001

804079 → 804079001

1 011 ₽

2 507 ₽

500 ₽

128 ₽

606 ₽

18 . ПРОКЛАДКА Mercury 95610

95610M → 81986M → 95610

1 283 ₽

221 ₽

60 633 ₽

1 283 ₽

99 ₽

3 243 ₽

218 ₽

109 ₽

26 . Пробка 859578A1

825490 → 859578A1

782 ₽

500 ₽

5 669 ₽

276 ₽

492 ₽

1 413 ₽

6 876 ₽

4 349 ₽

1 313 ₽

Полезные статьи

Все статьи →
Связаться с нами