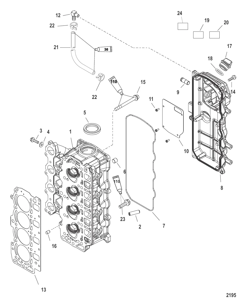
Головка цилиндра
79 403 ₽
353 ₽
482 ₽
451 ₽
4 500 ₽
860 ₽
5 500 ₽
32 639 ₽
515 ₽
205 ₽
1 316 ₽
13 500 ₽
394 ₽
1 219 ₽
413 ₽
782 ₽
500 ₽
9 225 ₽
45 ₽
368 ₽
Уточняйте
79 403 ₽
353 ₽
482 ₽
451 ₽
4 500 ₽
860 ₽
5 500 ₽
32 639 ₽
515 ₽
205 ₽
1 316 ₽
13 500 ₽
394 ₽
1 219 ₽
413 ₽
782 ₽
500 ₽
9 225 ₽
45 ₽
368 ₽
Уточняйте
Оставьте номер — наш эксперт перезвонит и подберёт нужные запчасти
Нажимая кнопку, вы соглашаетесь на обработку персональных данных
Наш эксперт свяжется с вами в ближайшее время
Скидка будет применена к вашему заказу