Головка цилиндра — [0T409000 THRU 1B355222] - USA — купить в Victory Marine
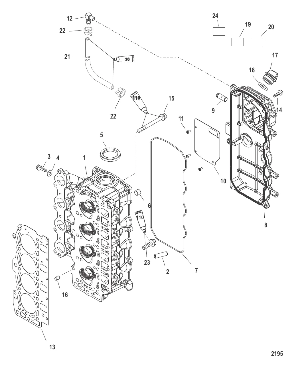
Головка цилиндра
2
3
4
6
8
10
11
14
15
16
17
18
22
23
24

Головка цилиндра

79 403 ₽

353 ₽

482 ₽

4 . ШАЙБА Mercury 859768

893586 → 859768

451 ₽

4 500 ₽

860 ₽

5 500 ₽

8 . COVER ASSY 8M0174400

893694T02 → 8M0174400

32 639 ₽

515 ₽

205 ₽

1 316 ₽

13 500 ₽

14 . ВИНТ (M6 x 1.0 x 20) Mercury 8M4503518

40011128 → 1994020 → 8M4503518

394 ₽

1 219 ₽

413 ₽

17 . Пробка 859578A1

825490 → 859578A1

782 ₽

500 ₽

9 225 ₽

45 ₽

368 ₽

Уточняйте

Полезные статьи

Все статьи →
Сравнения и обзоры

Раздушка мотора 9.9 до 15 л.с.: как это делается и чем грозит

Разбираем раздушку лодочных моторов Mercury 9.9 и Tohatsu 9.8 до 15 л.с. — что меняется внутри, сколько стоит, как влияет на ресурс, гарантию и регистрацию. Когда имеет смысл, а когда лучше не трогать.

1 мин.
Обслуживание и ремонт

Вибрация лодочного мотора — причины, диагностика и устранение

Вибрация лодочного мотора может быть вызвана десятком причин — от повреждённого винта до износа подвески. Разбираем каждую причину, объясняем, как диагностировать, и рассказываем, что можно исправить самому, а с чем ехать в сервис.

1 мин.
Гайды и подбор

Полный чек-лист снаряжения для рыбалки с лодки — что взять и не забыть

Подробный чек-лист снаряжения для рыбалки с лодки: безопасность, навигация, рыболовные принадлежности, комфорт, инструменты и документы. Что обязательно, а без чего можно обойтись.

1 мин.
Связаться с нами