Головка цилиндра — [0P401000 THRU 0P515896] - Belgium — купить в Victory Marine
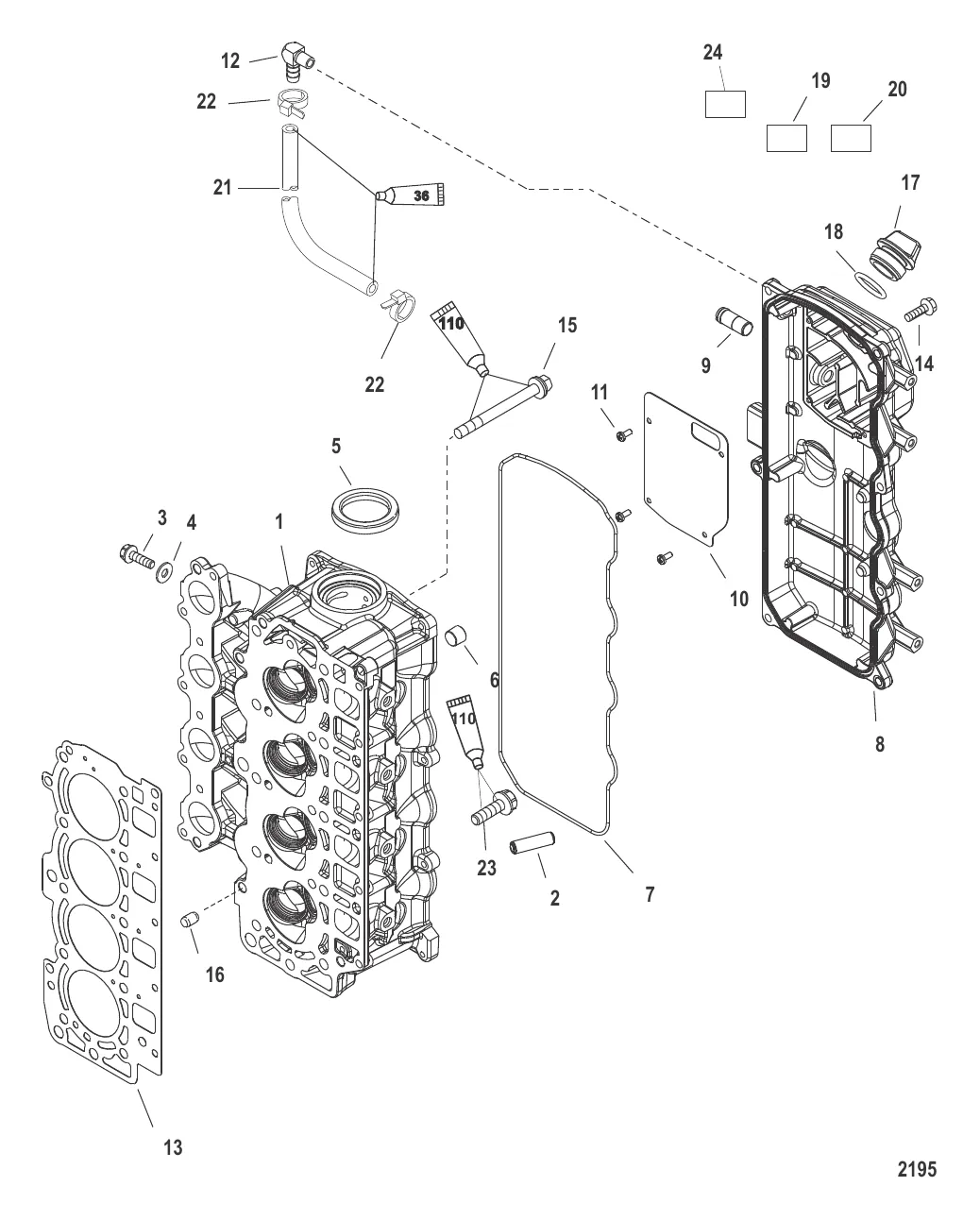
Головка цилиндра
2
3
4
6
8
15
16
17
22
23
24

Головка цилиндра

79 403 ₽

353 ₽

482 ₽

4 . ШАЙБА Mercury 859768

893586 → 859768

451 ₽

4 500 ₽

860 ₽

5 500 ₽

8 . COVER ASSY 8M0174400

893694T02 → 8M0174400

32 639 ₽

1 316 ₽

13 500 ₽

14 . ВИНТ (M6 x 1.0 x 20) Mercury 8M4503518

40011128 → 1994020 → 8M4503518

394 ₽

1 219 ₽

413 ₽

17 . Пробка 859578A1

825490 → 859578A1

782 ₽

500 ₽

9 225 ₽

45 ₽

368 ₽

Уточняйте

Полезные статьи

Все статьи →
Связаться с нами