Головка цилиндра — [0P153500 THRU 0P400999] - Belgium — купить в Victory Marine
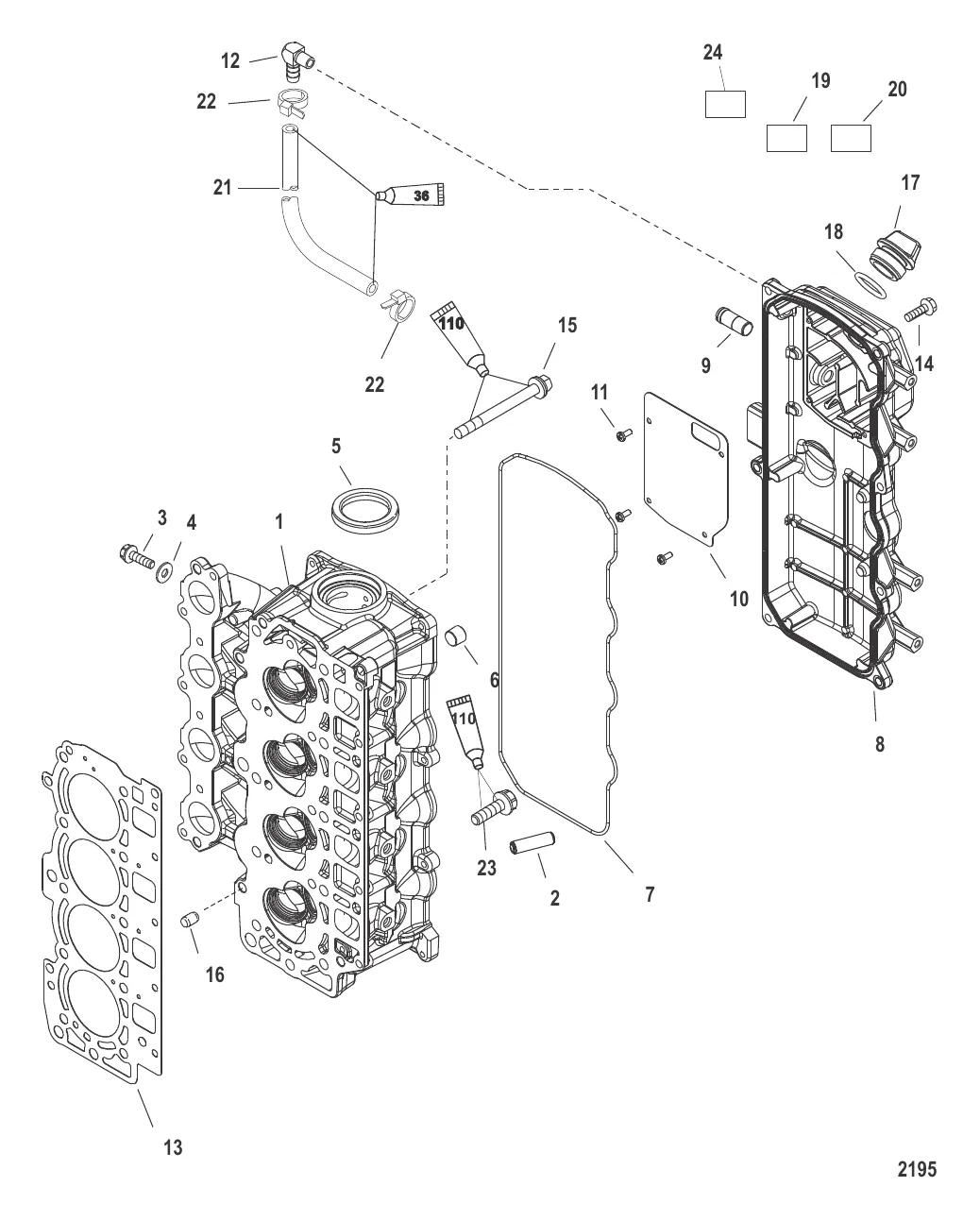
Головка цилиндра
2
3
4
6
8
11
15
16
17
22
23
24

Головка цилиндра

79 403 ₽

353 ₽

482 ₽

4 . ШАЙБА Mercury 859768

893586 → 859768

451 ₽

4 500 ₽

860 ₽

5 500 ₽

8 . COVER ASSY 8M0174400

893694T02 → 8M0174400

32 639 ₽

515 ₽

205 ₽

1 316 ₽

13 500 ₽

14 . ВИНТ (M6 x 1.0 x 20) Mercury 8M4503518

40011128 → 1994020 → 8M4503518

394 ₽

1 219 ₽

413 ₽

17 . Пробка 859578A1

825490 → 859578A1

782 ₽

500 ₽

9 225 ₽

45 ₽

368 ₽

Уточняйте

Полезные статьи

Все статьи →
Гайды и подбор

Лодка перевернулась — порядок действий и как этого избежать

Переворот лодки — экстренная ситуация, но не приговор, если знаешь что делать. Разбираем пошаговый алгоритм действий, способы подачи сигнала и главное — как не допустить опрокидывания.

1 мин.
Гайды и подбор

Установка эхолота Lowrance на лодку: от монтажа до первого запуска

Подробная инструкция по установке эхолота Lowrance на ПВХ-лодку и катер. Где крепить датчик на транце, как подключить питание, типы датчиков HDI, TotalScan, Active Imaging и типичные ошибки монтажа.

1 мин.
Гайды и подбор

Троллинг с лодки — мотор, снасти, оборудование для начинающих

Разбираемся, что нужно для троллинга с лодки: какой мотор подойдёт, какие снасти взять, зачем нужен даунриггер и эхолот. Практические советы для тех, кто только начинает ловить на дорожку.

1 мин.
Связаться с нами