Головка цилиндра — 1994-1995 [0D725152 THRU 0F999999] — купить в Victory Marine
Головка цилиндра
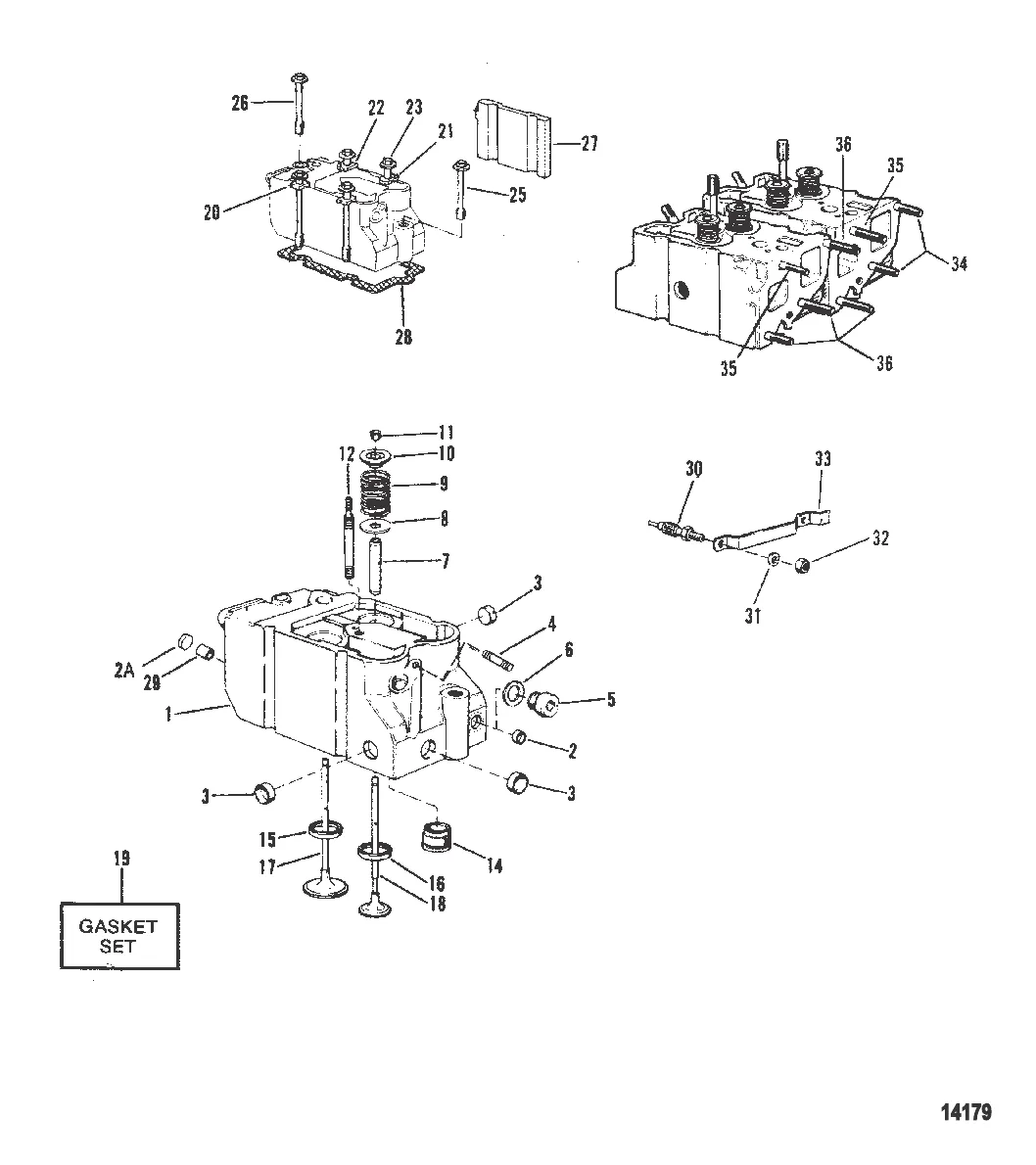
1
2
3
4
5
7
8
9
10
11
12
14
15
16
17
18
19
20
21
22
23
26
27
29
31
32
33
34
35
36

Головка цилиндра

114 082 ₽

241 ₽

109 ₽

3 . ПРОБКА Mercury 811389

801331665 → 811389

86 ₽

4 . ШПИЛЬКА Mercury 898101520

801333875 → 898101520

99 ₽

5 . БОЛТ Mercury 879148010

801763377 → 879148010

278 ₽

147 ₽

902 ₽

205 ₽

605 ₽

1 077 ₽

151 ₽

884 ₽

Уточняйте

1 719 ₽

1 434 ₽

6 072 ₽

11 015 ₽

Уточняйте

Уточняйте

20 . BRIDGE 8M0148572

801331671 → 8M0148572

Уточняйте

840 ₽

1 142 ₽

23 . винт Mercury 8M0058844

806685 → 8M0058844

671 ₽

26 . винт Mercury 8M0057732

806687 → 8M0057732

444 ₽

Уточняйте

Уточняйте

Уточняйте

Уточняйте

Уточняйте

30 . СВЕЧА НАКАЛИВАНИЯ Mercury 811495

801763464 → 801331939 → 811495

8 012 ₽

Уточняйте

32 . ГАЙКА Mercury 809921038

809922089 → 809921038

Уточняйте

561 ₽

379 ₽

35 . ШПИЛЬКА Mercury 898101517

809909067 → 898101517

84 ₽

624 ₽

Полезные статьи

Все статьи →
Связаться с нами