Гидравлический насос и кронштейны — [8058870 & Up] - Australia - Cat.# 90-822256 — купить в Victory Marine
Гидравлический насос и кронштейны
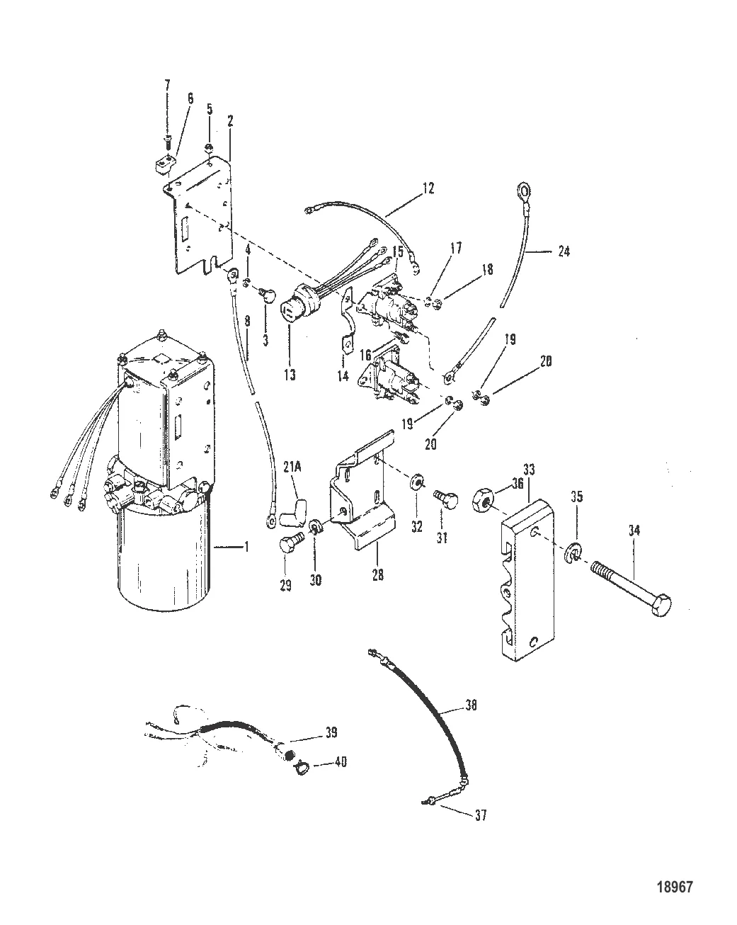
1
2
3
6
7
8
12
13
14
15
17
18
20
21
24
28
30
31
33
34
35
36
37
38
40

Гидравлический насос и кронштейны

160 194 ₽

Уточняйте

304 ₽

284 ₽

332 ₽

323 ₽

136 ₽

Уточняйте

3 841 ₽

156 ₽

222 ₽

4 827 ₽

2 969 ₽

6 977 ₽

470 ₽

17 . Шайба 26996

20040 → 26996

140 ₽

18 . Гайка 68219

20645 → 33252 → 68219

72 ₽

20 . ГАЙКА (0.312-18) Mercury 68292

F1349 → F1330 → 68292

197 ₽

599 ₽

Уточняйте

4 439 ₽

12 725 ₽

230 ₽

134 ₽

323 ₽

23 361 ₽

Уточняйте

258 ₽

571 ₽

37 . ADAPTER Mercury 89029

58153 → 89029

898 ₽

1 219 ₽

24 369 ₽

24 369 ₽

Уточняйте

Уточняйте

Полезные статьи

Все статьи →
Связаться с нами